EasyManua.ls Logo

Circutor DHC-96 Aac - 5�1�- Configuration of the Input; 5�1�1�- Primary Current

Circutor DHC-96 Aac
46 pages
Print Icon
To Next Page IconTo Next Page
To Next Page IconTo Next Page
To Previous Page IconTo Previous Page
To Previous Page IconTo Previous Page
Loading...
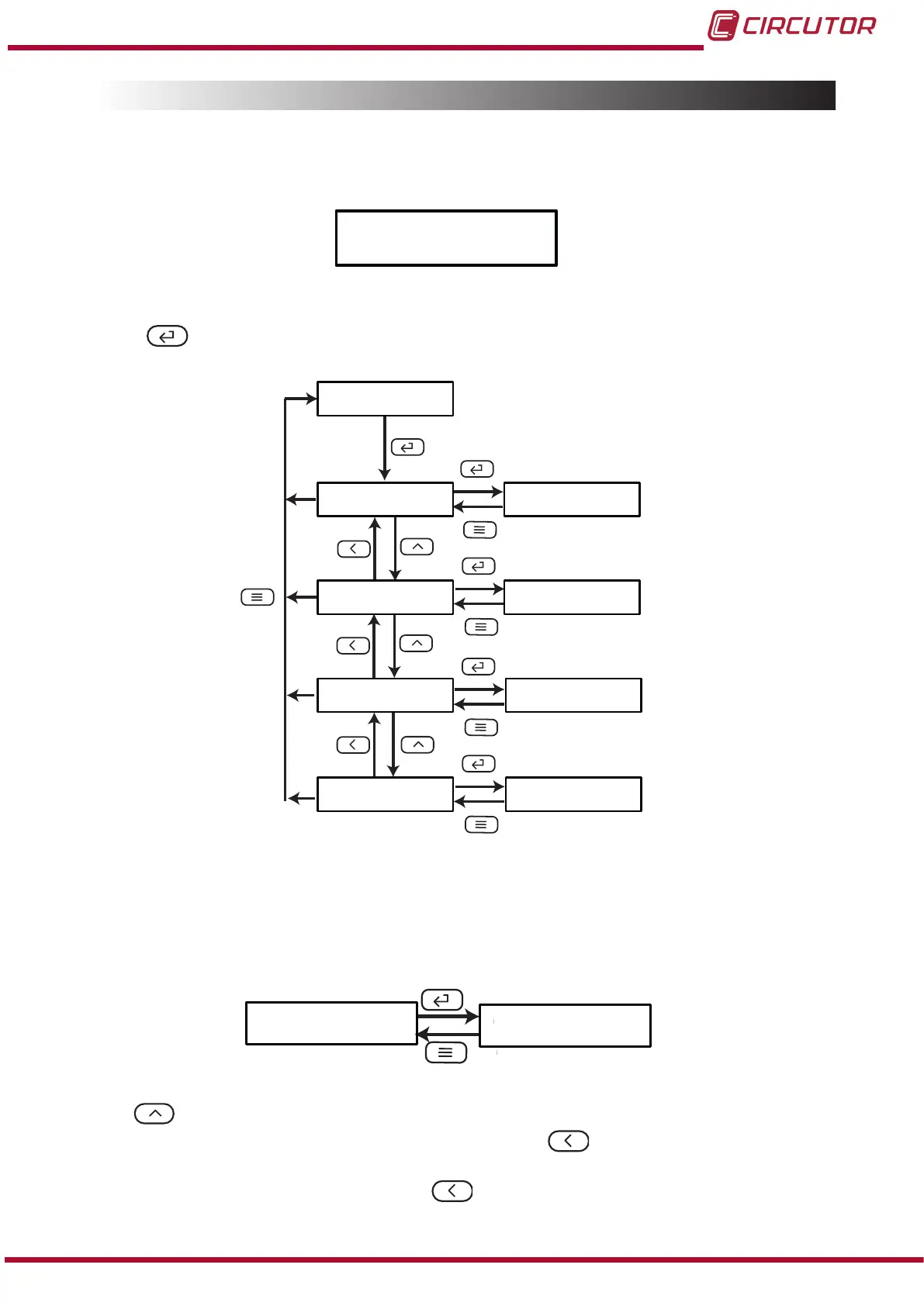
5.1.- CONFIGURATION OF THE INPUT
Figure 10, shows the main screen of the input conguration menu, from which the primary
current and secondary current are congured.
inPt
Figure 10: Input conguration menu, main screen.
Press the key to open the conguration menu.
inPt
in i
Unt. i
in 2
Unt.2
1.000
oFF
5.000
oFF
Figure 11:Input conguration menu.
5�1�1�- PRIMARY CURRENT
This screen is used to congure the value of the primary current.
in i
1.000
Use the , key to modify the value of the ashing digit
When the desired value is shown on the screen, press the key to skip the digit.
When you reach the last digit and press the key, you select the position of the decimal
17
Instruction Manual
DHC-96 Aac

Table of Contents

Related product manuals