EasyManua.ls Logo

Circutor DHC-96 Aac - 4�3�- Relay Outputs; 4�4�- Analog Output; 4�5�- Entradas Digitales; 4�6�- Display

Circutor DHC-96 Aac
46 pages
Print Icon
To Next Page IconTo Next Page
To Next Page IconTo Next Page
To Previous Page IconTo Previous Page
To Previous Page IconTo Previous Page
Loading...
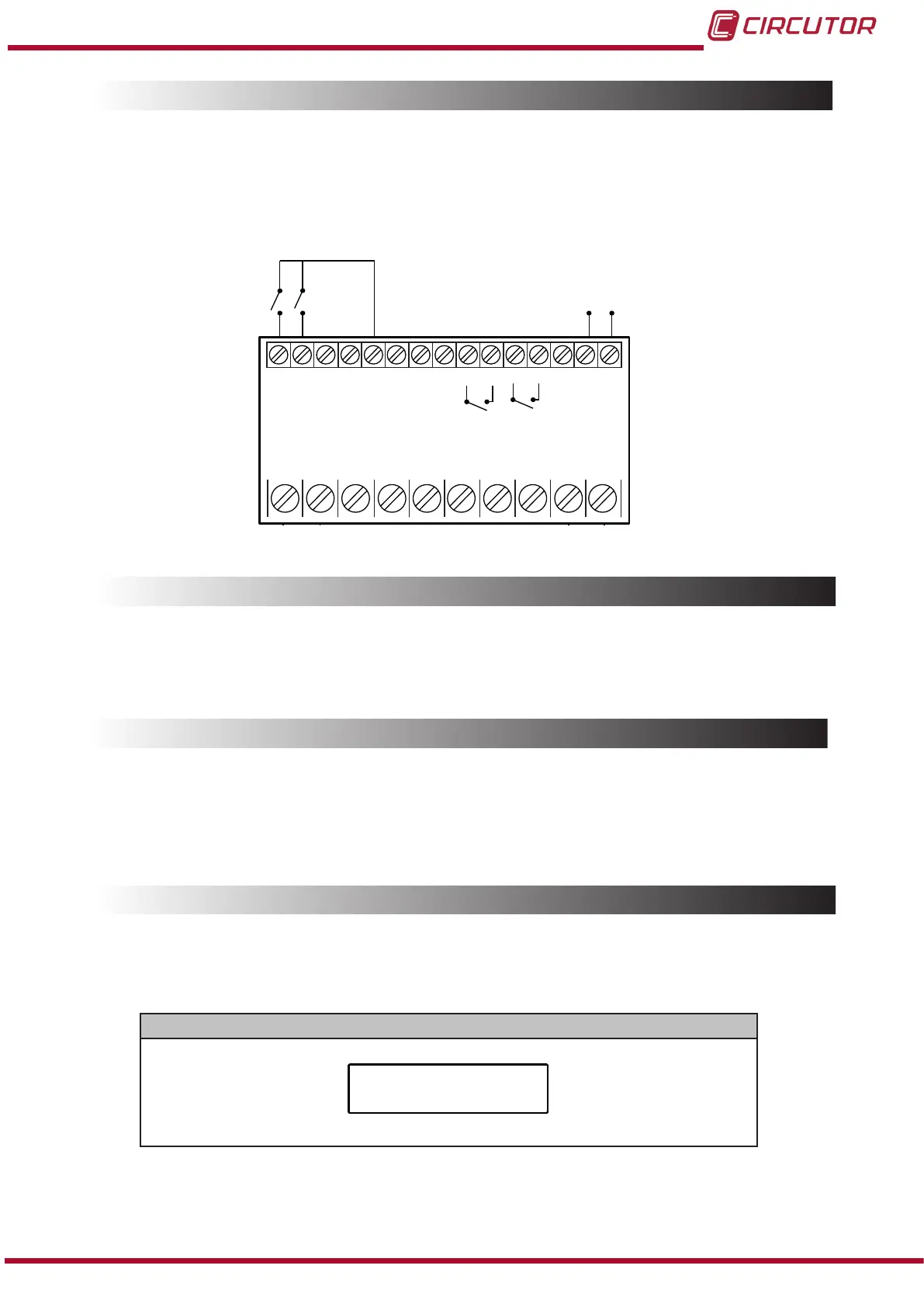
4.3.- RELAY OUTPUTS
The device features two programmable relay outputs (terminals 28, 29, 31 and 32, as shown in
Figure 6) that can be programmed as remote control signals or alarms in the setup menu (“5.4.-
RELAY OUTPUT 1” and “5.5.- RELAY OUTPUT 2”).
1 2
70 5971
1 2
72 58 28 29 31 32 1615
+-
B A
RS-485
C
1 2
1 2
I
S1S2
P1
P2
45
Alimentación Auxiliar
Power Supply
Salida de relés
Digital inputs
Relay output
Analog output
Entradas Digitales
Salida Analógica
Figure 6: Relay outputs, digital inputs and Analog output�
4.4.- ANALOG OUTPUT
The device has an analog output (terminals 15 and 16 of Figure 6) programmable through the
conguration menu (5.3.- ANALOG OUTPUT)
4.5.- ENTRADAS DIGITALES
The device has two digital inputs (terminals 70, 71 and 72 of Figure 6). The relay outputs can be
activated depending on the value of the digital inputs (See 5.4.- RELAY OUTPUT 1and “5.5.-
RELAY OUTPUT 2”)
4.6.- DISPLAY
The DHC-96 Aac features 4 display screens, Table 6.
Table 6: Display menu�
Display menu
5.000
Current
13
Instruction Manual
DHC-96 Aac

Table of Contents

Related product manuals