EasyManua.ls Logo

Datex-Ohmeda 7900 - Removing the Battery

Datex-Ohmeda 7900
181 pages
Print Icon
To Next Page IconTo Next Page
To Next Page IconTo Next Page
To Previous Page IconTo Previous Page
To Previous Page IconTo Previous Page
Loading...
6/ Repair Procedures
6-22 1503-0151-000 5/26/0
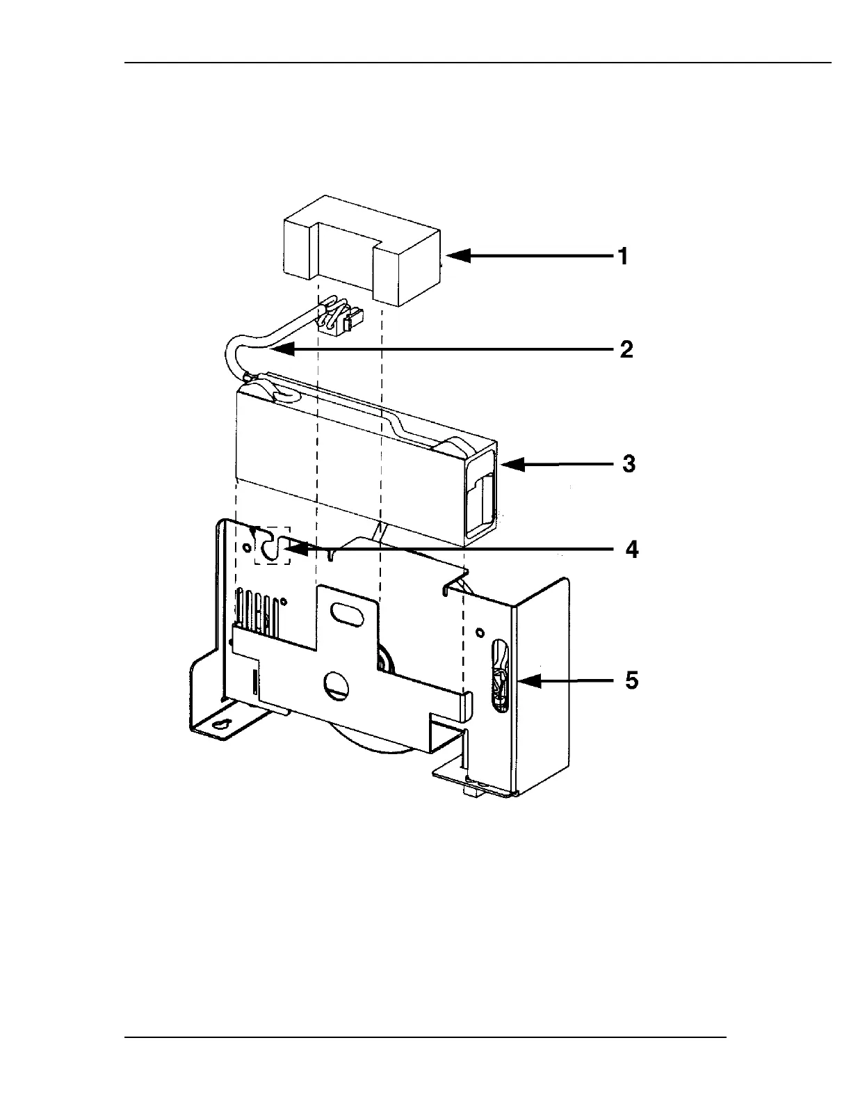
Removing the battery
1. Foam battery retainer
2. Battery harness route through cutout, item 4
3. Battery
4. Hole for battery harness routing
5. Power module bracket assembly with slot for ribbon cable
Figure 6-18
Battery removal

Table of Contents

Related product manuals