EasyManua.ls Logo

Datex-Ohmeda 7900 - Page 145

Datex-Ohmeda 7900
181 pages
Print Icon
To Next Page IconTo Next Page
To Next Page IconTo Next Page
To Previous Page IconTo Previous Page
To Previous Page IconTo Previous Page
Loading...
7/ Illustrated Parts List
1503-0151-000 3/27/97 7-5
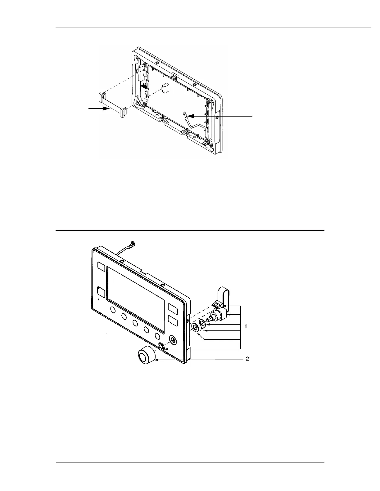
1. Harness display/keyboard, 1503-3051-000
2. Ground harness, 1500-7048-000
2a. Keps nut M4 (not shown), 0144-3717-314 (2)
2b. Washer M4 (not shown), 9213-0540-003 (2)
3. Keyboard/microboard harness (not shown), 1503-3052-000
Figure 7-7
Front panel display assembly harnesses
1. Rotary encoder, 1503-3012-000 includes all parts except the knob
2. Knob,1503-3030-000
Figure 7-8
Encoder, rotary, 16 position with push button switch.
2
1

Table of Contents

Related product manuals