EasyManua.ls Logo

Delta VFD015EL43W-1 - 5.4 Overheat (oH1)

Delta VFD015EL43W-1
197 pages
To Next Page IconTo Next Page
To Next Page IconTo Next Page
To Previous Page IconTo Previous Page
To Previous Page IconTo Previous Page
Loading...
Chapter 5 Troubleshooting
VFD-EL-W
5-5
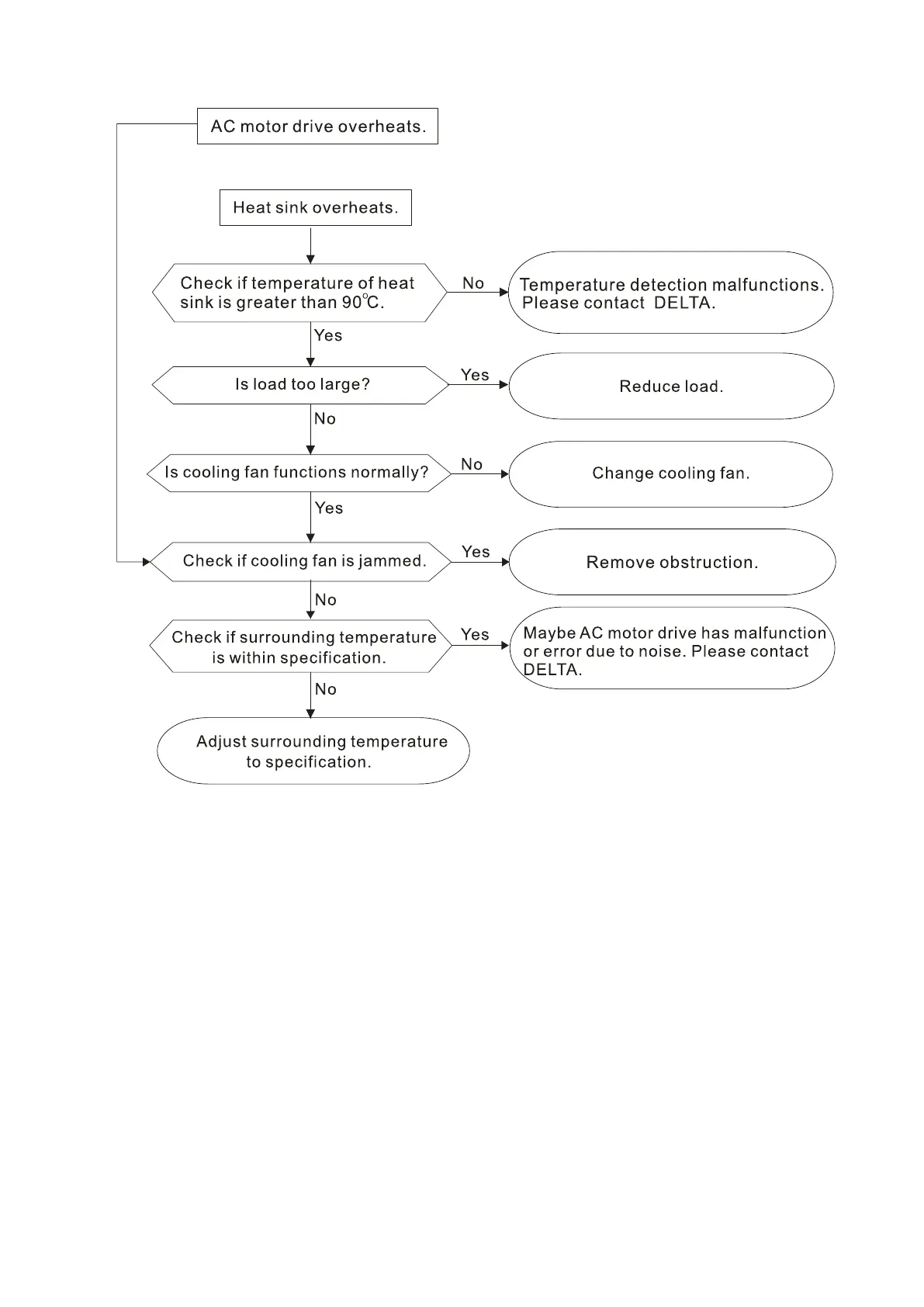
5.4 Overheat (oH1)

Table of Contents

Related product manuals