EasyManua.ls Logo

Dixie Narco 2145 - Page 87

Dixie Narco 2145
98 pages
Print Icon
To Next Page IconTo Next Page
To Next Page IconTo Next Page
To Previous Page IconTo Previous Page
To Previous Page IconTo Previous Page
Loading...
Page 85
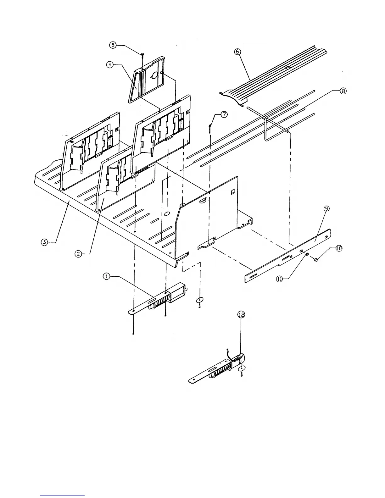
FIGURE 20 – SHORT GATE TRAY DETAIL

Table of Contents

Related product manuals