EasyManua.ls Logo

Faraday MPC-1500 Plus - Page 66

Faraday MPC-1500 Plus
127 pages
Print Icon
To Next Page IconTo Next Page
To Next Page IconTo Next Page
To Previous Page IconTo Previous Page
To Previous Page IconTo Previous Page
Loading...
12530/12540 OWNER'S MANUAL
P/N 447203 Issue I V-27
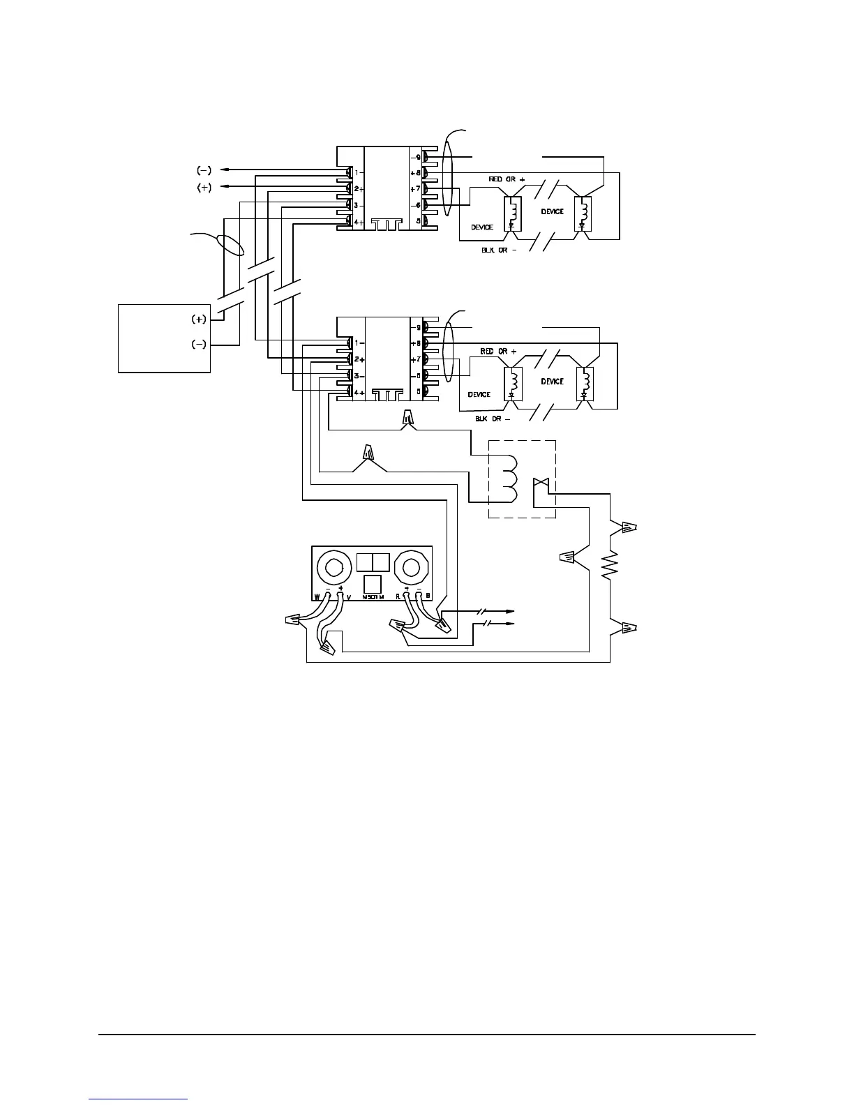
CONFIGURATION OF 9159 CONTROL MODULE
TYPICAL CONVENTIONAL STYLE “Z” (“4-WIRE”) NOTIFICATION APPLIANCE CIRCUIT
Notes:
1. This wiring diagram shows only general information about this device. For specific wiring and
installation information, read the instructions provided with the device.
2. See owners manual for compatible appliances.
3. Notification Appliance Circuit Ratings:
Maximum alarm current: 1.0A
Maximum wire voltage drop: 1.9V
4. See Article 370 of the N.E.C. for proper box depth.
5. For power supply supervision use an E.O.L. relay as shown (relay contact shown with power
applied).
6. From the control unit auxiliary power supply output or an external 24VDC regulated power supply
that must be power limited and listed for Fire Protective Signaling Use.
Faraday 9159 Control Module:
(System Sensor M500CH)
From Addressable
Device Circuit
Supervised
Power limited
See NFPA 72 for maximum quantity
of devices per initiating device circuit.
47K EOL Resistor
Supplied with unit
Supervised
Power limited
24VDC
Power
Supply
(See Note??6)
Faraday PM6849 EOL relay
(System Sensor A77-716B)
Faraday 9157/9158 Monitor Module
(System Sensor M500MB/M501M)
(9158 module shown)
To Next
Addressable
Device

Table of Contents