EasyManua.ls Logo

Festo MPAL-VI - Vertical Pressure Shut-Off Plate

Festo MPAL-VI
121 pages
Print Icon
To Next Page IconTo Next Page
To Next Page IconTo Next Page
To Previous Page IconTo Previous Page
To Previous Page IconTo Previous Page
Loading...
2 Product overview
Festo – MPAL-VI-EN – 2017-07a – English 35
2.6.7 Vertical pressure shut-off plate
1
1 Actuating element for the vertical shut-off plate
Fig. 2.23 Operating element for the vertical shut-off plates
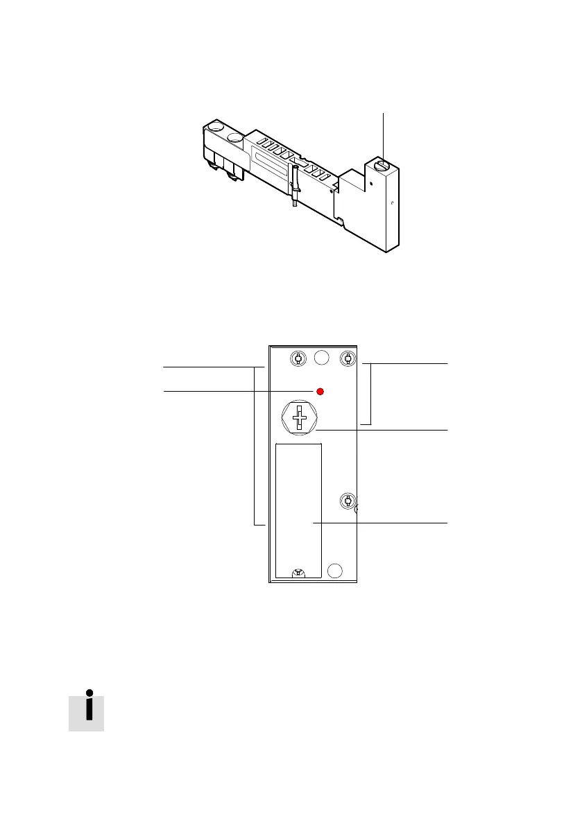
2.6.8 Pneumatic interface
1
2
3
4
5
1 Connecting plug to the pneumatic modules
2 Rotary switch under a cover cap (tightening
torque: 0.5 Nm ± 10 %).
3 Inscription label
4 Fault LED (red)
5 Connecting plug to the CPX interlinking
blocks
Fig. 2.24 Display and connecting components on the pneumatic interface
Number of controllable solenoid coils on the rotary switch èChap.2.9.3
Statuses of fault LEDs on the pneumatic interface è Chap.5.2

Table of Contents

Other manuals for Festo MPAL-VI

Related product manuals