EasyManua.ls Logo

Flexim FLUXUS G809 - Page 60

Flexim FLUXUS G809
181 pages
Print Icon
To Next Page IconTo Next Page
To Next Page IconTo Next Page
To Previous Page IconTo Previous Page
To Previous Page IconTo Previous Page
Loading...
6 Installation
6.2 Transducers FLUXUS G809
2020-06-25, UMFLUXUS_G809V2-2EN
60
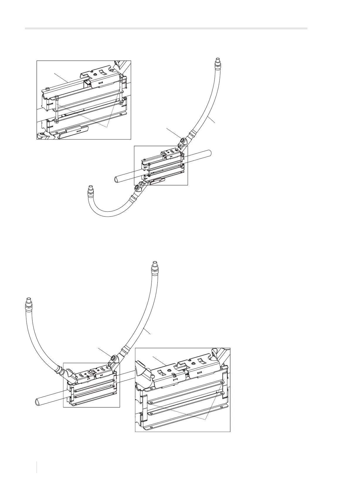
Fig. 6.61: PermaFiX on the pipe (example: diagonal arrangement with screws)
1 PermaFiX
2 screws
3 conduit sealing fitting
4 flexible conduit (approved for FM Class I, Division 1)
Fig. 6.62: PermaFiX on the pipe (example: reflection arrangement with tension straps)
1 PermaFiX
2 tension straps
3 conduit sealing fitting
4 flexible conduit (approved for FM Class I, Division 1)
1
2
3
4
1
2
3
4

Table of Contents

Related product manuals