EasyManua.ls Logo

Fostex MR-8CD - Pre-Roll;Post-Roll Time Setting

Fostex MR-8CD
148 pages
Print Icon
To Next Page IconTo Next Page
To Next Page IconTo Next Page
To Previous Page IconTo Previous Page
To Previous Page IconTo Previous Page
Loading...
126
MR-8HD/CD Owner’s Manual (Other functions)
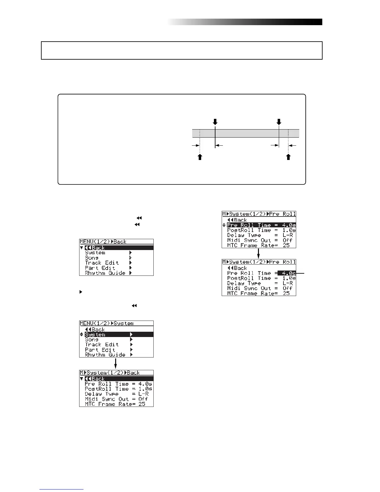
As described earlier on page 47, when both the auto punch in/out and loop modes are active,
the pre-roll and post-roll are effective in the loop function.
You can set the pre-roll and post-roll time value by the following procedure.
When both the auto punch in/out and loop modes are
active, the loop starts from "the LOCATE A point minus
the pre-roll time" and ends by "the LOCATE B point
plus the post-roll time". The pre-roll time is initially set
to four seconds, while the post-roll time is set to one
second.
In other words, with the default pre-roll and post-roll
time settings, when executing auto punch in/out, the
MR-8HD/CD starts playback four seconds before the
punch-in point, and ends playback one second after
the punch-out point.
1) While the recorder is stopped, press the
[MENU/ENTER] knob to enter the menu mode.
The display now shows the first page of the
menu selection screen, where "
Back" is
highlighted initially (selecting "
Back" returns
to the previous screen).
2) Rotate the [MENU/ENTER] knob to select
"System
", and press the [MENU/ENTER] knob.
The display now shows the first page of the
system menu screen, where "
Back" is
highlighted.
3) Rotate the [MENU/ENTER] knob to select
"Pre Roll Time=*.*s" and press the
[MENU/ENTER] knob.
The currently selected pre-roll time (by default,
"4.0s") flashes. You can now set the desired
pre-roll time.
4) Rotate the [MENU/ENTER] knob to select the
pre-roll hold time, and press the [MENU/ENTER]
knob.
The pre-roll time setting is confirmed and the
display returns to the previous screen. To set
the post-roll time, follow the procedure below.
5) Rotate the [MENU/ENTER] knob to select
"Post Roll Time" and press the [MENU/ENTER]
knob.
The currently selected post-roll time (by
default, "1.0s") flashes. You can now set the
desired post-roll time.
You can select between "0.1s" and "10s" in 0.1
second steps.
6) Rotate the [MENU/ENTER] knob to select the
post-roll hold time, and press the [MENU/ENTER]
knob.
The post-roll time setting is confirmed and the
display returns to the previous screen.
7) Press the [STOP] key to exit the menu mode.
LOCATE A
Point
LOCATE B
Point
4 sec.
1 sec.
LOOP START
point
LOOP END
point
You can select between "0.1s" and "10s" in 0.1
second steps.
Pre-roll/post-roll time setting
Flashing

Table of Contents

Related product manuals