EasyManua.ls Logo

Fostex MR-8CD - Beat Resolution Mode On;Off

Fostex MR-8CD
148 pages
Print Icon
To Next Page IconTo Next Page
To Next Page IconTo Next Page
To Previous Page IconTo Previous Page
To Previous Page IconTo Previous Page
Loading...
127
MR-8HD/CD Owner’s Manual (Other functions)
While the time base is set to the bar/beat mode, if you set the "Beat resolution" item in the menu
to "On", the LOCATE A and B points are set in beat resolution.
When "Beat resolution" is set to "On", the clock digit in the bar/beat/clock value is automatically
rounded down or up, so that the clock digit is always "000".
Let's see an example when the time base is set to the bar/beat mode and the
"Beat resolution" is set to "On". If you set the LOCATE A point to "Bar 1/1 /clock
468" and the LOCATE B point to "Bar 12/ 4 /clock 485", the rounded values are
stored as below.
"Bar 1 / 1 / clock 468" -> "Bar 1 / 1 / clock 000"
(The clock value "468" is rounded down.)
"Bar 12 / 4 / clock 485" -> "Bar 13 / 1 / clock 000"
(The clock value "485" is rounded up.)
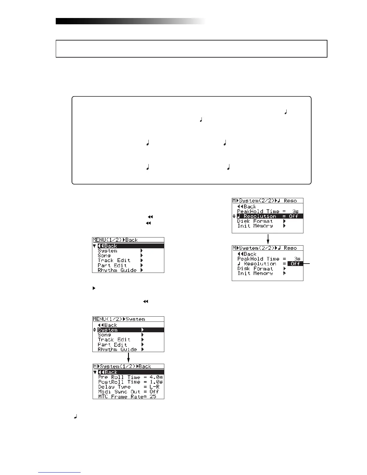
1) While the recorder is stopped, press the
[MENU/ENTER] knob to enter the menu mode.
The display now shows the first page of the
menu selection screen, where "
Back" is
highlighted initially (selecting "
Back" returns
to the previous screen).
2) Rotate the [MENU/ENTER] knob to select
"System
", and press the [MENU/ENTER] knob.
The display now shows the first page of the
system menu screen, where "
Back" is
highlighted.
3) Rotate the [MENU/ENTER] knob to select
"
Resolution=**" on the second page and press
the [MENU/ENTER] knob.
The current option (by default, "Off") flashes.
You can now set the desired option.
4) Rotate the [MENU/ENTER] knob to select "On"
or "Off", and press the [MENU/ENTER] knob.
The selection is confirmed and the display
returns to the previous screen.
5) Press the [STOP] key to exit the menu mode.
Beat resolution mode on/off
Flashing

Table of Contents

Related product manuals