EasyManua.ls Logo

Frick RXB PLUS - Page 63

Frick RXB PLUS
66 pages
Print Icon
To Next Page IconTo Next Page
To Next Page IconTo Next Page
To Previous Page IconTo Previous Page
To Previous Page IconTo Previous Page
Loading...
RXB PLUS ROTARY SCREW COMPRESSOR UNITS S70-101 IOM
Page 63
3-PHASE
BUS
GROUND BUS
ELECTRONIC
CONTROL
ELECTRONIC
CONTROL
ELECTRONIC
CONTROL
PLANT SUPPLY
TRANSFORMER
ART4B
INCORRECT
Figure 4
3-PHASE
BUS
GROUND BUS
ELECTRONIC
CONTROL
ELECTRONIC
CONTROL
ELECTRONIC
CONTROL
PLANT SUPPLY
TRANSFORMER
ART4T
CORRECT
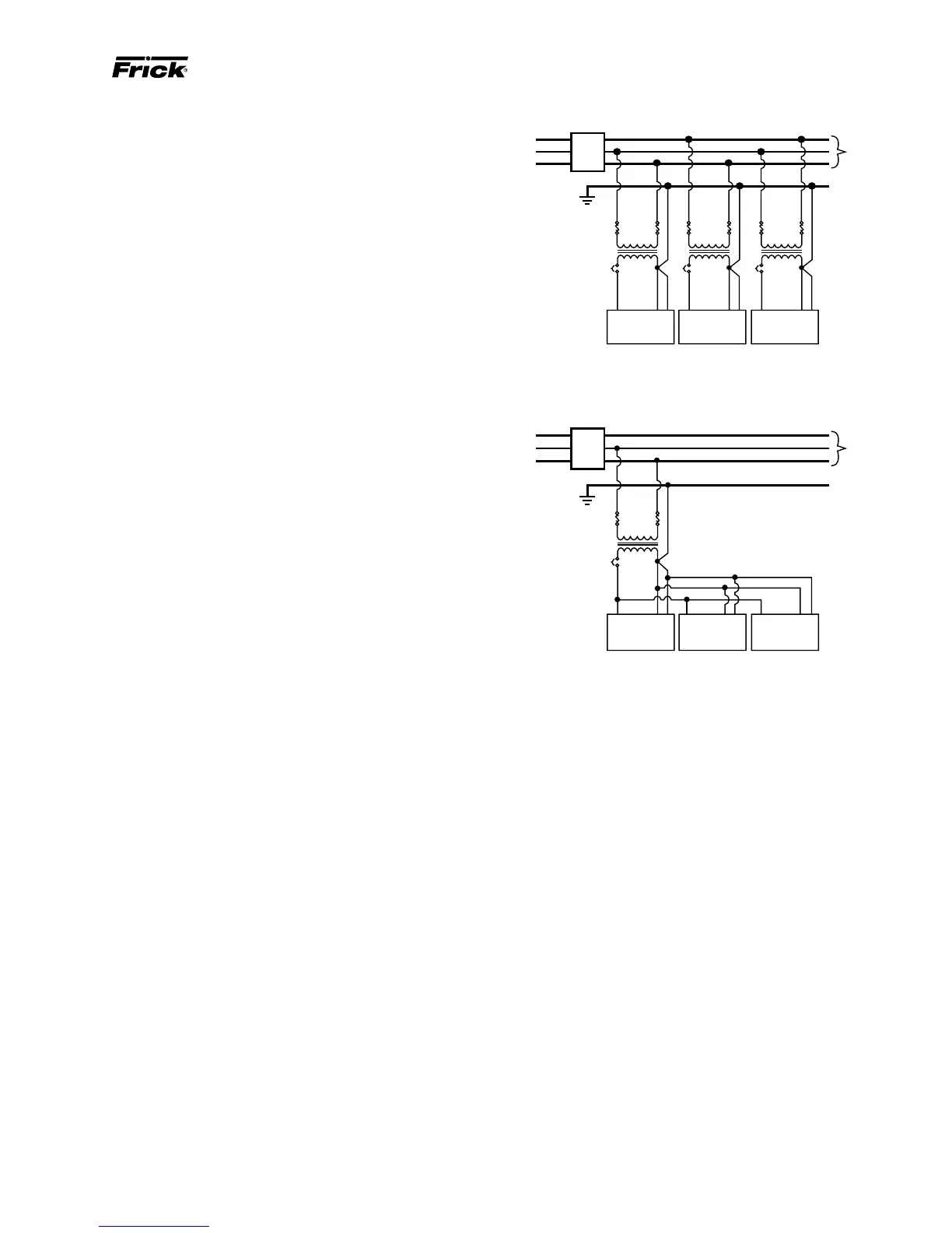
PROPER INSTALLATION OF ELECTRONIC EQUIPMENT
Never add relays, starters, timers, transformers, etc. in-
side an electronic control panel without first contacting
the manufacturer. Contact arcing and EMI emitted from
these devices can interfere with the electronics. Relays and
timers are routinely added to electronic control panels by
the manufacturer, but the manufacturer knows the accept-
able device types and proper placement in the panel that
will keep interference to a minimum. If you need to add these
devices contact the manufacturer for the proper device types
and placement.
Never run refrigerant tubing inside an electronic con-
trol panel. If the refrigerant is ammonia, a leak will totally
destroy the electronics.
If the electronic control panel has a starter built into the
same panel, be sure to run the higher voltage wires
where indicated by the manufacturer. EMI from the wires
can interfere with the electronics if run too close to the cir-
cuitry.
Never daisy-chain or parallel-connect power or ground
wires to electronic control panels. Each electronic con-
trol panel must have its own supply wires back to the power
source. Multiple electronic control panels on the same power
wires create current surges in the supply wires which can
cause controller malfunctions. Daisy-chaining ground wires
allows ground loop currents to flow between electronic con-
trol panels which also causes malfunctions. (Figure 4)
It is very important to read the installation instructions thor-
oughly before beginning the project. Make sure you have
drawings and instructions with your equipment. If not, call
the manufacturer and have them send you the proper in-
structions. Every manufacturer of electronic equipment
should have a knowledgeable staff, willing to answer your
questions or fax additional information. Following correct wir-
ing procedures will ensure proper installation of your elec-
tronic equipment.

Table of Contents

Related product manuals