EasyManua.ls Logo

Fuji Electric frenic mini series - Checking Changed Function Codes-Data Checking

Fuji Electric frenic mini series
306 pages
To Next Page IconTo Next Page
To Next Page IconTo Next Page
To Previous Page IconTo Previous Page
To Previous Page IconTo Previous Page
Loading...
3.3 Programming Mode
3-13
Chap. 3 OPERATION USING THE KEYPAD
3.3.2 Checking changed function codes--"Data Checking"
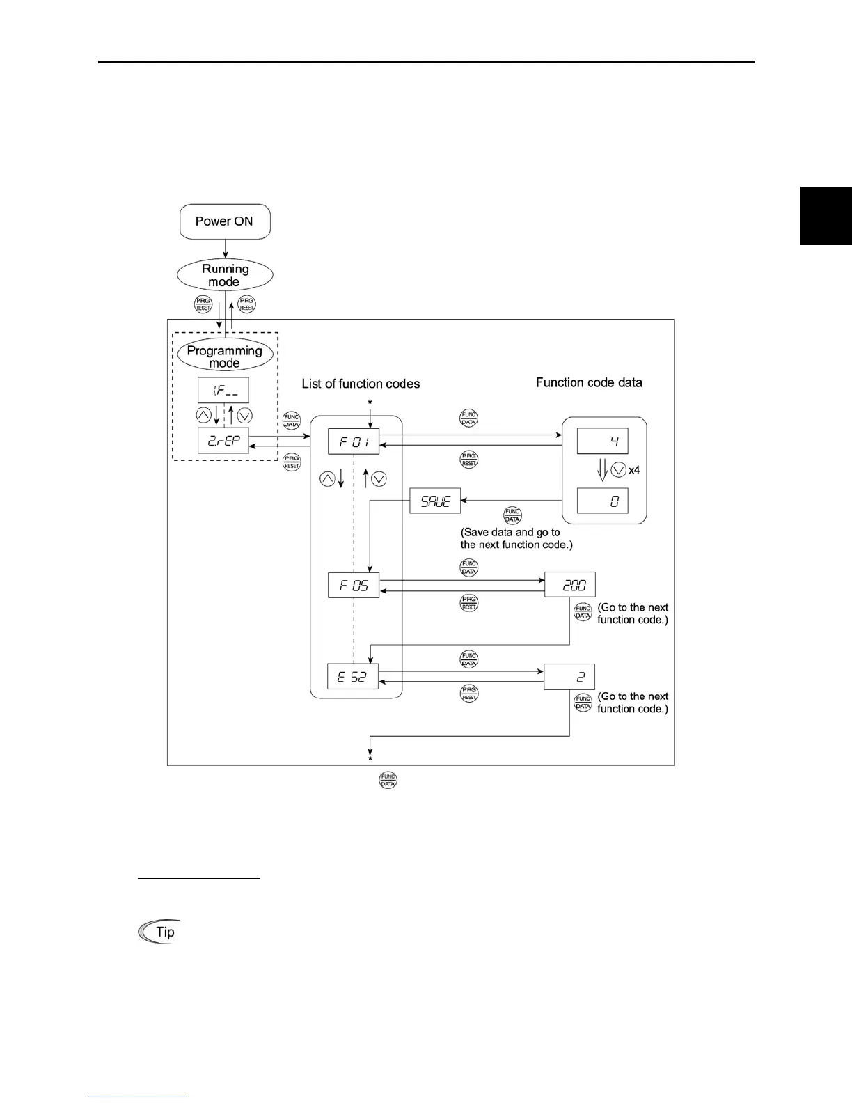
Menu #2 "Data checking" in Programming mode allows you to check function code data that have been
changed. Only data that has been changed from the factory defaults are displayed on the LED monitor.
You may refer to the function code data and change again if necessary. Figure 3.6 shows the status
transition diagram for "Data checking."
* Pressing the key when the
G
data is displayed will take you back to
H
.
Figure 3.6 Data Checking Status Transition Diagram (Changes made only to F01, F05, E52)
Basic key operation
The basic key operation is the same as for Menu #2 "Data setting."
To monitor Menu #2 "Data checking," it is necessary to set function code E52 data to 1
(Function code data check mode) or 2 (Full-menu mode).

Table of Contents

Other manuals for Fuji Electric frenic mini series

Related product manuals