EasyManua.ls Logo

FUTABA T16IZ - Page 23

FUTABA T16IZ
228 pages
Print Icon
To Next Page IconTo Next Page
To Next Page IconTo Next Page
To Previous Page IconTo Previous Page
To Previous Page IconTo Previous Page
Loading...
23
GO to TABLE OF CONTENTS
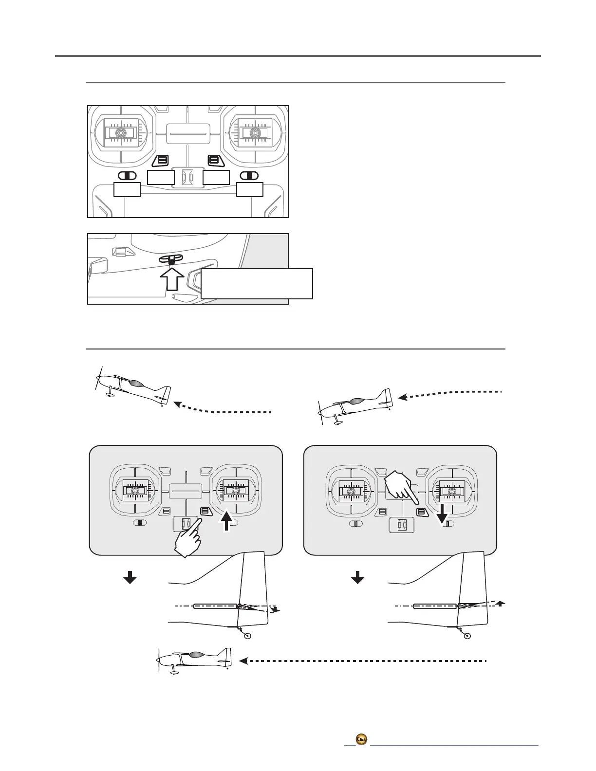
Digital Trims T1-T4
Digital trim operational example
T1T4
T3 T2
Elevator Neutral
Elevator Down
◆When the airplane goes up while the
elevator stick is neutral.
◆When the airplane dives while the
elevator stick is neutral.
◆Adjust so that the airplane flies level.
Elevator Neutral
Elevator Up
◆Elevator trim down
◆Elevator trim up
This transmitter is equipped with 4 digital trims.
Each time you press a trim button, the trim position
moves one step. If you continue pressing it, the trim
position starts to move faster. In addition, when
the trim position returns to the center, the tone will
change. You can always monitor trim positions by
referencing the LCD screen.
*You can select the trim step amount and the display unit
on the home screen on the T1-T4 setting screen within the
linkage menu.
Note: The trim positions you have set will be stored in the
non-volatile memory and will remain there.
*Example Stick Mode2
Long push the trim as it
is to reset it to neutral.

Table of Contents

Other manuals for FUTABA T16IZ

Related product manuals