EasyManua.ls Logo

Graco PrecisionSwirl - Typical Installation - Multiple Fluid Plates, No Swirl Dispensers

Graco PrecisionSwirl
150 pages
Print Icon
To Next Page IconTo Next Page
To Next Page IconTo Next Page
To Previous Page IconTo Previous Page
To Previous Page IconTo Previous Page
Loading...
System Configurations
14 3A2098S
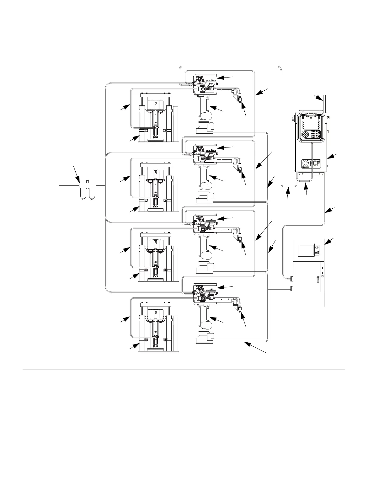
Typical Installation - Multiple Fluid Plates, No Swirl Dispensers
Key:
A *Control Center (User Interface)
B *Fluid Plate Assembly
C Applicator/Dispense Valve
DSealer Automation
E Automation Interface Cable
F *CAN Cable
G Fluid Supply System
H Fluid Supply Hose
J Automation Controller
K *Air Filter Assembly
L Sealer Automation Control Cable
* Included
F
IG. 2: Typical Multiple Fluid Plate System Installation
J
Air Supply
Drop Site
K*
H
Power In
A
E
F*
F*
F*
F*
B*
B*
B*
B*
D
C
D
C
D
C
D
C
H
H
H
G
G
G
G
F*
L
L
L

Table of Contents

Related product manuals