EasyManua.ls Logo

Gree GMV-S280W/A-X

Gree GMV-S280W/A-X
391 pages
To Next Page IconTo Next Page
To Next Page IconTo Next Page
To Previous Page IconTo Previous Page
To Previous Page IconTo Previous Page
Loading...
GMV5 Home DC Inverter Multi VRF Units
175
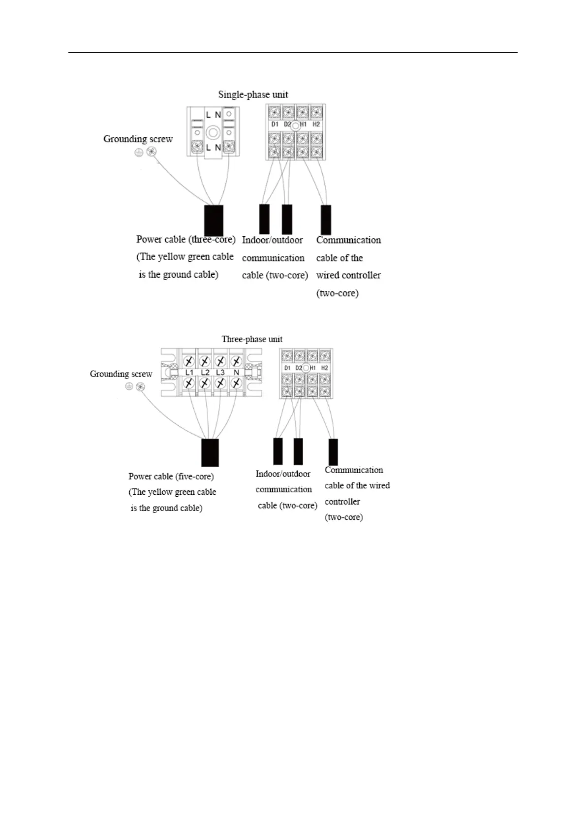
Elaborate the method with the installation personnel on site no matter which method is
adopted.

Table of Contents

Related product manuals