EasyManua.ls Logo

HBS IT 1002 - Shielding Gas Connection

HBS IT 1002
94 pages
Print Icon
To Next Page IconTo Next Page
To Next Page IconTo Next Page
To Previous Page IconTo Previous Page
To Previous Page IconTo Previous Page
Loading...
20 IT 1002 Order No BA 93-66-1206 Issue 03.11.08
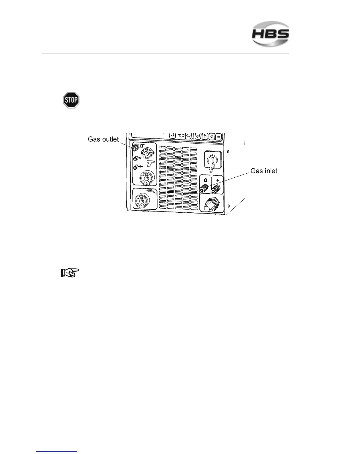
3.5 Shielding Gas Connection
Observe the standards (see appendix) when handling the
shielding gas bottles.
Connect the shielding gas bottle as follows:
Connect the gas hose of the shielding gas bottle to the gas inlet of the power
unit.
Connect the gas hose of the welding gun to the gas outlet.
Set the flow meter of the shielding gas bottle to 8 - 16 liters/min.
Minimum flow rate for stud welding with shielded gas is 8 l/min.
A gas mixture of 82% Argon (Ar) and 18% carbon dioxide (CO
2
) is mainly used for stud
welding.
3 Starting-up
3.5 Shielding Gas Connection

Table of Contents

Related product manuals