EasyManua.ls Logo

HBS IT 1002 - Page 35

HBS IT 1002
94 pages
Print Icon
To Next Page IconTo Next Page
To Next Page IconTo Next Page
To Previous Page IconTo Previous Page
To Previous Page IconTo Previous Page
Loading...
IT 1002 Order No BA 93-66-1206 Issue 03.11.08 35
There is a luminous indication (LED) to the right of the display:
Yellow lights if the welding gun button is triggered
Yellow lights if there is electrical contact between welding element
and workpiece
Red on, power unit is locked
after welding, until there is electrical contact with the
workpiece
Green on, power unit is ready for welding
Red on, power unit is locked
if the power unit is overheated (displays show 8888 and
LED lights).
After a short cooling period, the work can continue.
Red on, power unit is locked
if the power unit is overheated
if there is a malfunction of the power unit
Green lights, automatic mode is switched on
Green lights, shielding gas is switched on
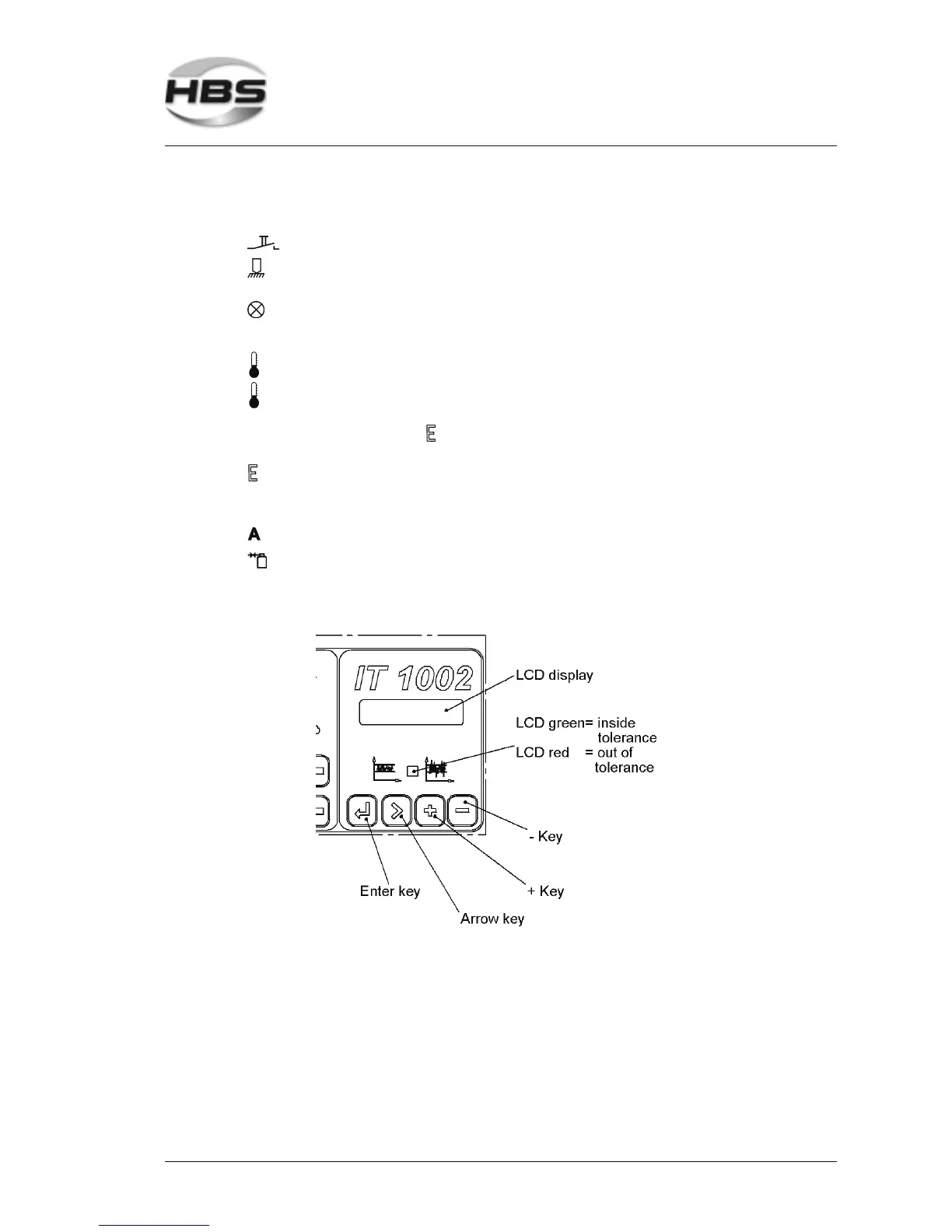
The LCD display shows the last set values.
5 Stud Welding Procedure
5.6 Switching on the Power Unit

Table of Contents

Related product manuals