EasyManua.ls Logo

HP ProLiant DL580 Generation 3 - Page 83

HP ProLiant DL580 Generation 3
192 pages
To Next Page IconTo Next Page
To Next Page IconTo Next Page
To Previous Page IconTo Previous Page
To Previous Page IconTo Previous Page
Loading...
Expansion board options 83
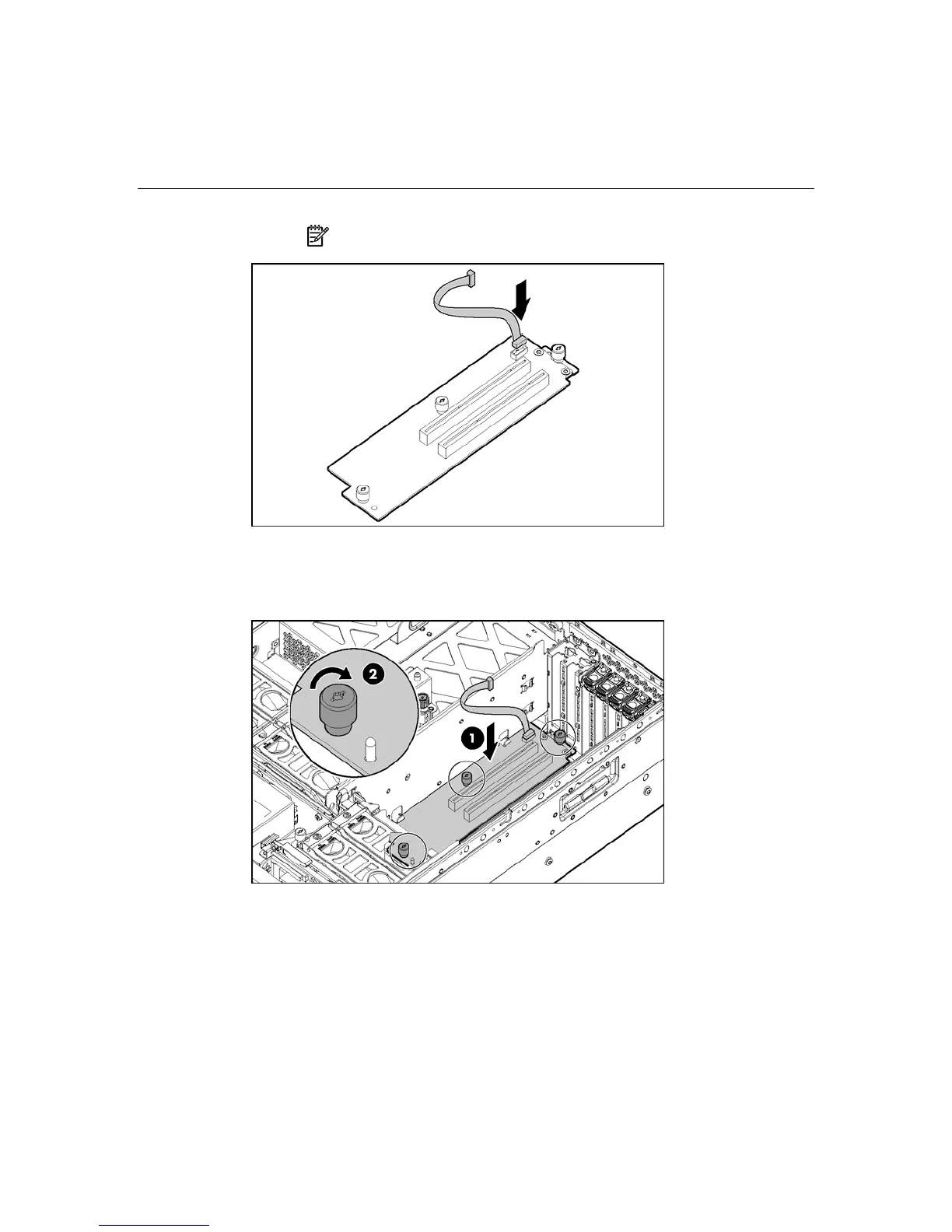
NOTE: The cable connector is keyed at pin 1 for alignment.
8. Use the guide pins to align the mezzanine board, and seat the mezzanine
board onto the system board.
9. Tighten the three thumbscrews to secure the mezzanine board.

Table of Contents

Related product manuals