EasyManua.ls Logo

IBM 3592 - Power Distribution Diagram

IBM 3592
362 pages
Print Icon
To Next Page IconTo Next Page
To Next Page IconTo Next Page
To Previous Page IconTo Previous Page
To Previous Page IconTo Previous Page
Loading...
3592
Tape Drive
Canister
3592
Tape Drive
Canister
AC
Power
Cord
AC
Power
Cord
Drive Shelf Pair
a05m0209
PSDC
PSDC
2
2
3
4
5
RMC
1
8
7
6
8
7
6
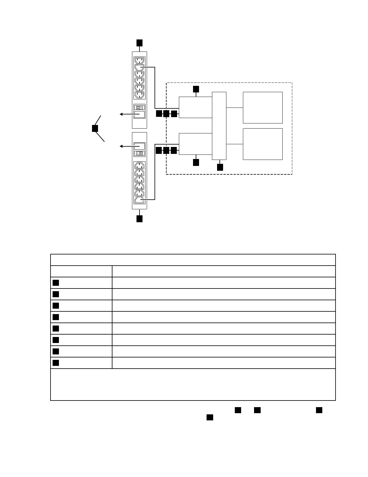
Figure 5: Power distribution diagram
Table 17: Power supplies and related components
Item number Item name
1 AC power cord
2 Power Distribution Units
3 DC power supply
4 Redundant power supply
5 Rack Mount Card (RMC)
6 DC LED¹
7 AC LED¹
8 ! (Attention) LED¹
1
DC LED: ON - good, OFF - fault
AC LED: ON - good, OFF - fault
! LED: OFF - good, ON - fault
Power in the 3592 is supplied by a redundant pair of power supplies 3 and 4 . The AC power cord 1 of
each supply is plugged into the AC power distribution unit 2 of the rack into which the 3592 is mounted.
No power ON/OFF switches are on the power supplies. Because the drive canister and the power supplies
are all single FRUs and are hot-pluggable, they do not require power ON/OFF switches to allow the
performance of service activities.
Introduction
33

Table of Contents

Related product manuals