EasyManua.ls Logo

JUKI IT-100D - Custom Pattern EdT; RegStratOn, Copy and DeletOn of the Custom Pattern

JUKI IT-100D
122 pages
Print Icon
To Next Page IconTo Next Page
To Next Page IconTo Next Page
To Previous Page IconTo Previous Page
To Previous Page IconTo Previous Page
Loading...
– 52 –
(4) Registration, copy and deletion of the custom pattern
Pop-up screen of registration, copy and deletion of custom pattern
Custom pattern edit screen
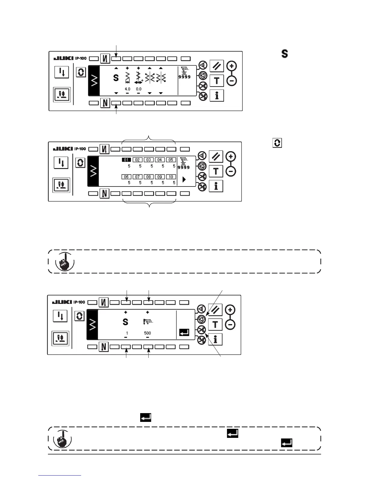
(3) Custom pattern edit
1) Press switch of in the sewing shape setting screen to move to the custom pattern edit screen.
2) Set the needle entry position and sewing direction of each step in the custom pattern edit screen.
7
: Set the step with
“+” and “–”
.
8
: Set the value of needle entry point from the center of zigzag with
“+”
and
“–”
.
“+”
value comes on the
right side and
“–”
value on the left side.
9
: Select normal direction and reverse direction with the feed direction.
!0
: Needle entry position is displayed. (In display of the needle entry position, all positions are displayed
as the normal direction.)
!1
: Insert needle entry point 0.0 for one stitch to the existing step. Then the stitches move backward one
stitch by one stitch.
* It is not possible to insert it when the number of total stitches is 500 stitches.
!2
: Delete one stitch of the needle entry of the existing step. Then the stitches move forward one stitch
by one stitch.
* It is not possible to delete it when the number of total stitches is
1
stitch.
3) When setting is completed up to the last step, proceed to the next step, press
!3
and put END mark .
* When the number of stitches of the last step is 500 stitches, it is not necessary to set “END” mark .
4) When the setting is completed, press key to determine.
Press in the sewing shape setting screen, and the pop-up screen of registration, copy and deletion of
custom pattern appears. Then registration, copy and deletion of the custom pattern can be performed.
When the power source is turned OFF without pressing key, the inputted data returns to
the former one. When you desire to determine the data, be sure to press key.
When the setting of reverse direction is performed in the setting of the feed direction of the
custom pattern, the max. speed is limited to 1,100 sti/min.
u i o
u i
!2
!1
o
!3
q w e
!0

Table of Contents

Related product manuals