EasyManua.ls Logo

KidKraft WINDALE - Swing Wall Assembly

KidKraft WINDALE
56 pages
Print Icon
To Next Page IconTo Next Page
To Next Page IconTo Next Page
To Previous Page IconTo Previous Page
To Previous Page IconTo Previous Page
Loading...
24
Assemble Left Wall
Step 8: Swing Wall Assembly
Wood Parts
Hardware
10 x 1/4 x 2” Hex Bolt (1/4” lock washer, 1/4” at washer, 1/4” t-nut)
3 x 5/16 x 4” Hex Bolt (5/16” lock washer, 5/16” at washer, 5/16” t-nut)
2 x 1/4 x 1-1/2” Lag Screw (1/4” at washer)
1 x Floor End 1 x 5 x 35-1/4”
1 x Side Roof 1 x 4 x 55-1/8”
2 x Post 2 x 4 x 84-3/8”
1 x Wall Mount 2 x 4 x 38-1/4”
1 x SW Ground 1 x 5 x 74”
1 x SW Side 1 x 4 x 35-7/8”
2211
2228
2215
1935
LS1
H2
G4
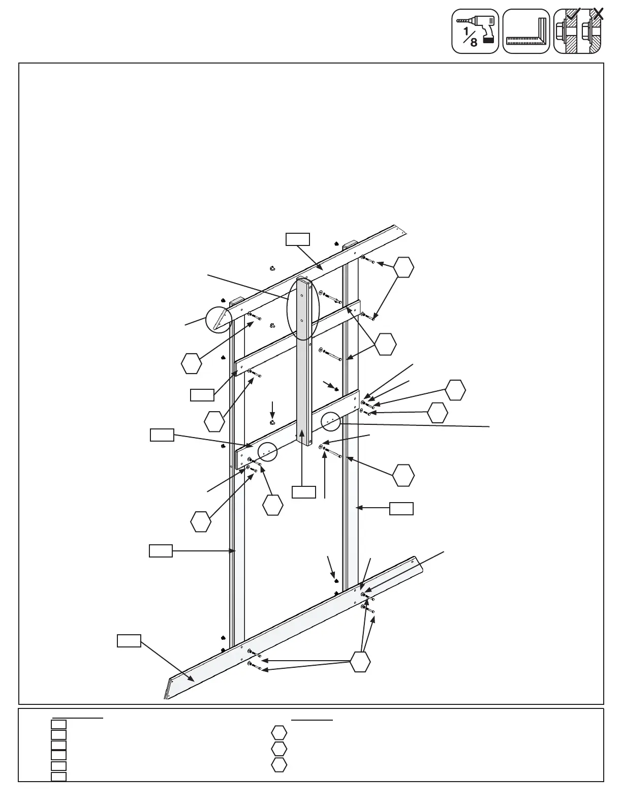
Fig. 8.1
2215
2223
1935
H2
H2
A: Loosely attach (2223) SW Ground using 4 (H2) 1/4 x 2” Hex Bolts (with lock washer, at washer and t-nut);
(2211) Floor End (in the top holes); (2224) SW Side and (1935) Side Roof using 2 (H2) 1/4 x 2” Hex Bolts (with
lock washer, at washer and t-nut) for each board to 2 (2215) Posts. (g. 8.1) Note: Keep all bolts loose.
B: Place (2228) Wall Mount across (2211) Floor End, (2224) SW Side and (1935) Side Roof then attach using 3
(G4) 5/16 x 4” Hex Bolts (with lock washer, at washer and t-nut) as shown in g. 8.1. Notice the side holes are
towards the top of the board.
Note: Pre-drill all holes using a 1/8” drill bit before installing the lag screws.
C: Make sure assembly is square and then fasten (2211) Floor End to (2215) Posts using 2 (LS1) 1/4 x 1-1/2”
Lag Screws (with at washer). (g. 8.1) Tighten all (H2) 1/4 x 2” Hex Bolts.
2228
2215
2211
H2
LS1
H2
G4
G4
H2
1/4” at
washer
Notice the hole
locations in (2228)
Wall Mount
2223
5/16” at
washer
1/4” lock
washer
1/4” at
washer
1/4”
t-nut
LS1
Notice the pilot hole
locations towards
bottom of board
2224
Notice shorter end on
this side and angle
facing up.
2224
5/16”
t-nut
H2
5/16” lock
washer
1/4” at
washer
1/4” lock
washer
1/4”
t-nut

Related product manuals