EasyManua.ls Logo

Kollmorgen SERVOSTAR 620

Default Icon
98 pages
To Next Page IconTo Next Page
To Next Page IconTo Next Page
To Previous Page IconTo Previous Page
To Previous Page IconTo Previous Page
Loading...
1.8 Grounding system
AGND ground for analog inputs/outputs, internal analog/µC ground
DGND ground for digital inputs/outputs, optically isolated
XGND ground for external 24V aux. voltage, optically and inductively isolated
PGND ground for encoder simulation, RS232, CAN, optically isolated
The potential isolation is shown in the block diagram (ð p. 37).
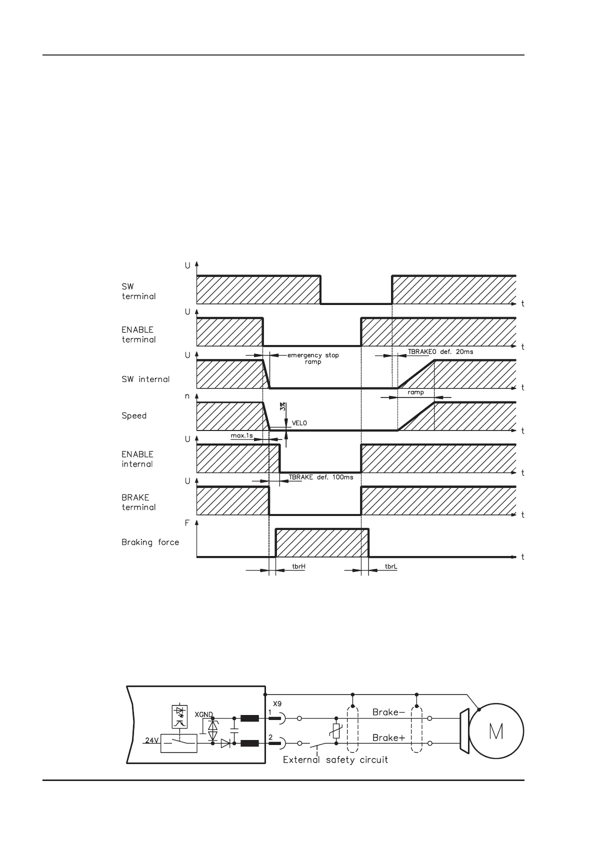
1.9 Control for motor-holding brake
A 24V / max. 2A holding brake in the motor can be controlled directly by the servo amplifier. This
function does not ensure personnel safety! The brake function must be enabled through the
BRAKE parameter (setting: WITH BRAKE). In the diagram below you can see the time and functio
-
nal relationships between the ENABLE signal, speed setpoint, speed and braking force.
During the internal ENABLE delay time of 100ms the speed setpoint of the servo amplifier is
internally driven down a 10ms ramp to 0V. The brake output is switched on when 3% of the final
speed is reached. The rise (tbrH) and fall (tbrL) times of the holding brake which is built into the
motors are different for the various types of motor (see motor manual). A description of the
interface can be found on page 39 .
A safe (for personnel) operation of the holding brake requires an additional “make” (n.o.) contact in
the brake circuit and a suppressor device (varistor) for the recommended brake circuit diagram :
20 SERVOSTAR
®
601...620 Installation Manual
General 03/04 Kollmorgen
SERVOSTAR 600

Table of Contents

Other manuals for Kollmorgen SERVOSTAR 620

Related product manuals