EasyManua.ls Logo

Kollmorgen SERVOSTAR 620

Default Icon
98 pages
To Next Page IconTo Next Page
To Next Page IconTo Next Page
To Previous Page IconTo Previous Page
To Previous Page IconTo Previous Page
Loading...
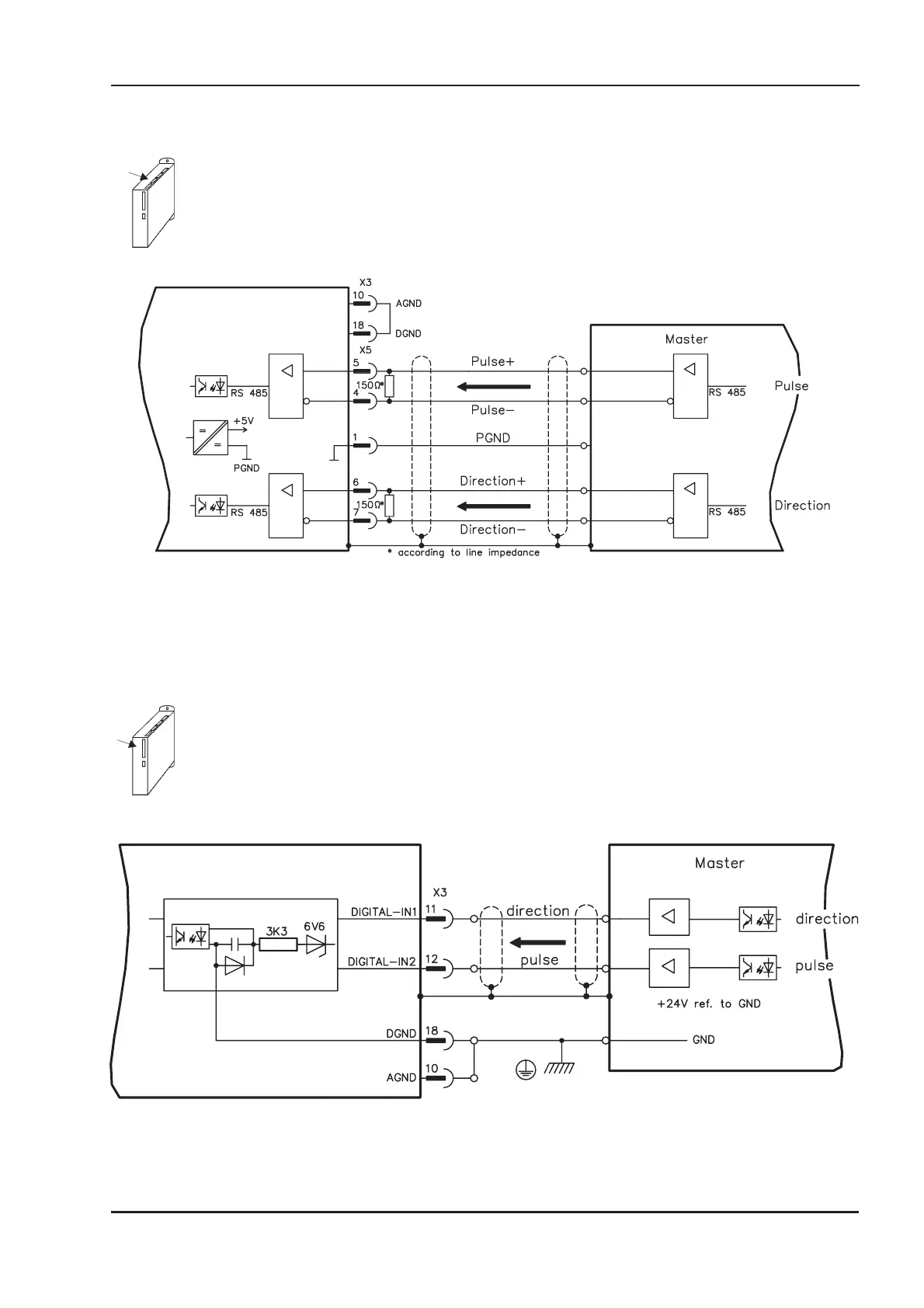
3.7.1 Connection to stepper-motor controller with 5V signal level (X5)
This interface can be used to connect the servo amplifier to a stepper-motor controller with 5V sig
-
nal level. The connector X5 must be used.
Edge frequency: 1,5MHz
AGND and DGND (connector X3) must be joined together !
3.7.2 Connection to stepper-motor controller with 24V signal level (X3)
This interface can be used to connect the servo amplifier to a stepper-motor controller with 24V sig-
nal level. The digital inputs DIGITAL-IN 1 and 2 at connector X3 must be used.
Edge frequency: 250 kHz
AGND and DGND (connector X3) must be joined together !
SERVOSTAR
®
601...620 Installation Manual 51
Kollmorgen 03/04 Interfaces
SERVOSTAR 600
SERVOSTAR 600

Table of Contents

Other manuals for Kollmorgen SERVOSTAR 620

Related product manuals