EasyManua.ls Logo

Menvier Security TS700 - Installing a Plug-on Digicom; Installing a stand-alone Digicom or RedCARE

Menvier Security TS700
32 pages
Print Icon
To Next Page IconTo Next Page
To Next Page IconTo Next Page
To Previous Page IconTo Previous Page
To Previous Page IconTo Previous Page
Loading...
Insta lling a Plug-on Digicom
1. A dig icom type DC54 or DC58 ca n be fitted in the base of the TS 700 main panel. The unit
should b e fitted in accordance with the installation instruction s supplied with it and
connected to JP3.
2. The alarm chan nels for the plug-on d igicom are programmed as required (page 16). It will
be necessary to fit a programmed NVM in t he digicom or to program it in accordance with
the instructions supplied with the unit.
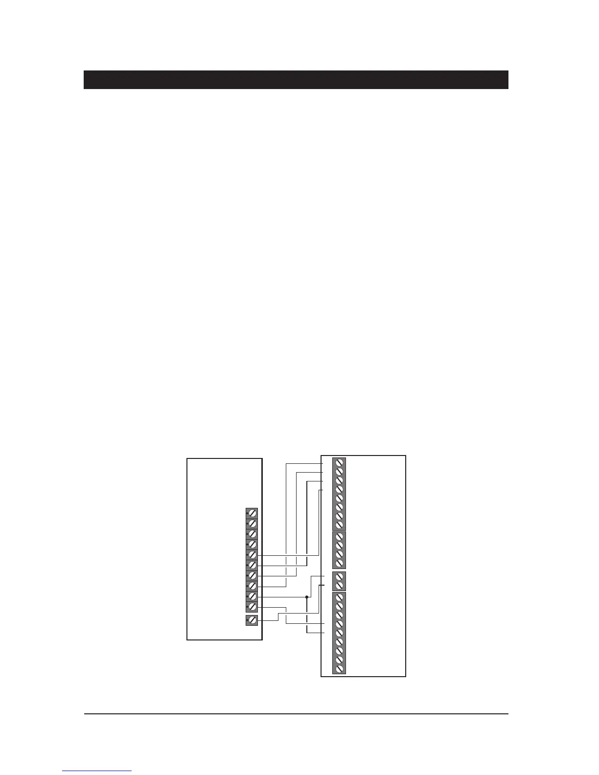
Insta lling a stand-alone Digicom or RedCARE
A stand-alone digital communicator, Red CARE STU or Paknet i nterface card can be connected
tothesystemtotransferpanelalarmstatusin format iontoad edicatedalarm receivingcentre.The
control panel has the following connections (Figure 6) for a digicom etc.
1 to 8 - These are the programmable digic om outputs. They are normally at +12V
and switch to 0V when active.
+DC POWER - This provides a permanent +12 V powe r to the digi com. The ou tput is
un-fused a nd therefore should only be used if the digicom is fitted inside
the control pan el.
LINE FLT - W hen thi s input is switch ed to +12V a telephone l ine fault condition will be
gen erated.
REM RE SET - If the system is programmed for“EngineerReset”,then afte r a full alarm the
system will require resetting, normally this is done by the engineer orcoded
rem ote reset. A pplying a -ve to this input terminal will cause the system to
reset after a full alarm . This input could be connected to t he Control”
output on a RedCARE STU so that t he Alarm Receiving Centre ca n poll the
STU and thus reset the p anel.
10
System Installation TS700 Installation Manual
Control
Pan el
3GSTU
1
1
+DC POWER
Program
As:-
Open (08)
Alarm (05)
PA (06)
Fire (07)
LINE FLT
AUX 0V
2
2
3
3
4
4
5
TB1
Channel Inputs are
Programmed as
Positive Removed
TB2
TB3
TB4
Control
Line
Fault RPS
5
6
6
7
7
0V
NO NO NONC NC NC
8
8
C CC
A+ A+ A+ A+ V+
Figure 6. 3G STU RedCARE Connections

Related product manuals