EasyManua.ls Logo

Mitsubishi QJ71BR11

Mitsubishi QJ71BR11
422 pages
To Next Page IconTo Next Page
To Next Page IconTo Next Page
To Previous Page IconTo Previous Page
To Previous Page IconTo Previous Page
Loading...
3 - 51 3 - 51
MELSEC-Q
3 SPECIFICATIONS
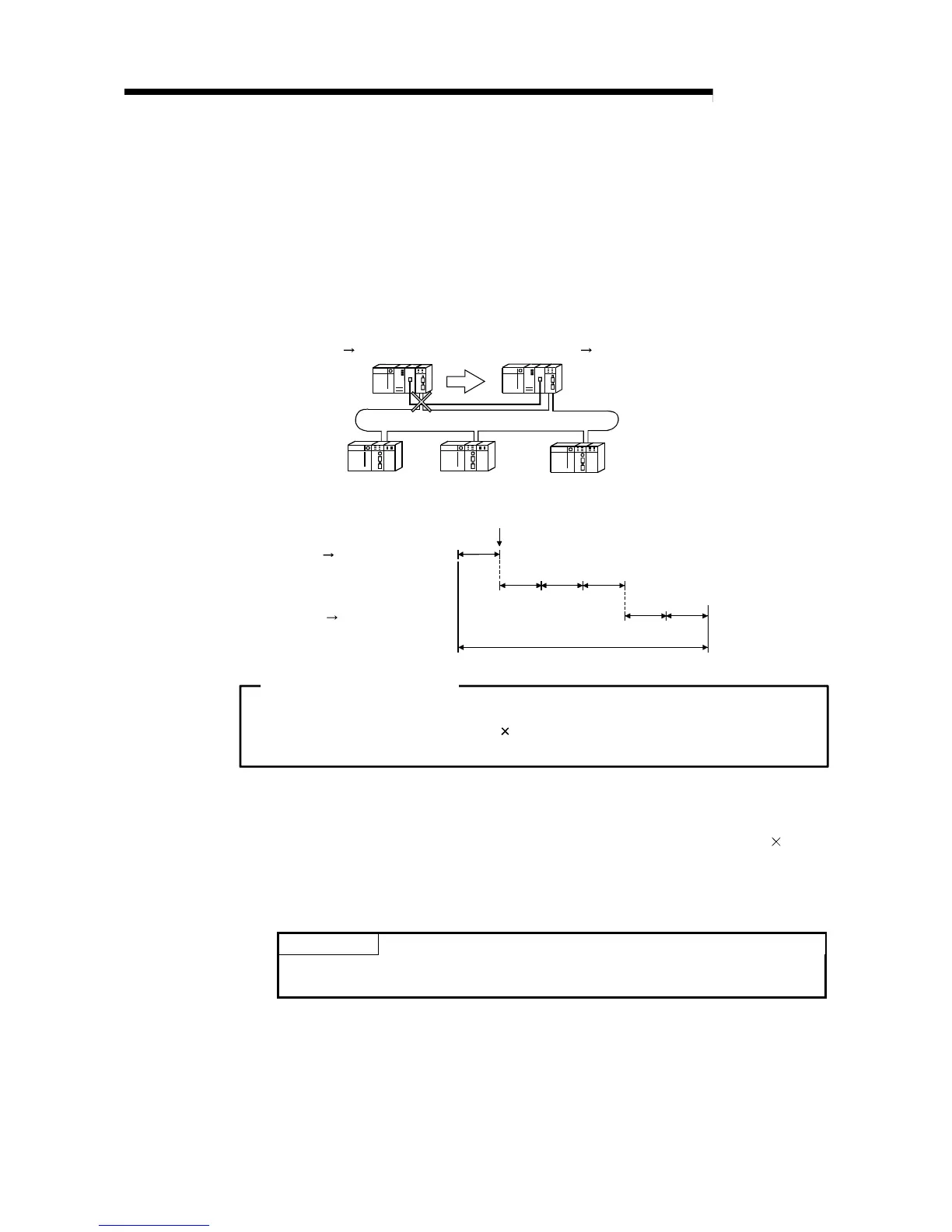
(3) System switching when the link cable disconnection occurs in the
host network module
If a communication error occurs due to link cable disconnection on the host
network module, it will considerably increase "data link monitoring time +
switching monitoring time".
Therefore the calculation formula is not affected by the CPU system switching
time and the switching time from the multiplexed remote master station to the
multiplexed remote sub-master station.
Multiplexed remote master station
Control syst em standby syst em
Multiplexed remote sub- master stat ion
Standby system control system
Remote I/O station
(
R
)
Remote I/O station
(
R
)
Remote I/O station
(
R
)
Net work
Standby system control system CPU
An error has occurred on the control system
Scan
500
K
Tsw
Scan
Control system standby system CPU
Output holding time of remote I/O station
Toh
Tc
[Output holding time (Toh)]
Toh = 500 + K + Tc + Tsw + (Scan 2) [ms]
K: Data link monitoring time (set up by the common parameters in the network
parameters) [ms]
Tc: Switching monitoring time (specify the setting range using SW0018)
10ms
[ms]
Tsw: Redundant CPU system switching time [ms]
Scan: Scanning time of the redundant CPU [ms]
POINT
For the CPU system switching time, refer to QnPRHCPU User's Manual
(Redundant System).

Table of Contents

Related product manuals