EasyManua.ls Logo

MKS 640B - Figure 4: Side View of the 640 B Series Controller

MKS 640B
84 pages
Print Icon
To Next Page IconTo Next Page
To Next Page IconTo Next Page
To Previous Page IconTo Previous Page
To Previous Page IconTo Previous Page
Loading...
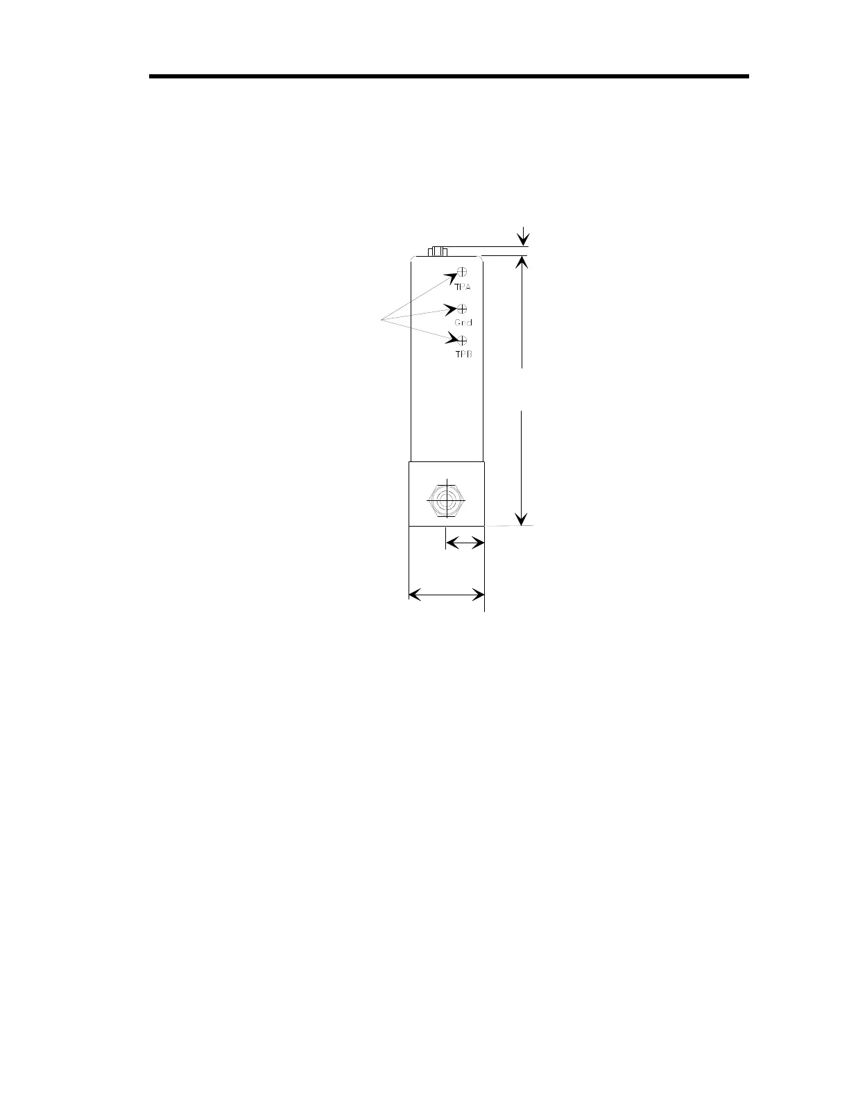
Dimensions Chapter Two: Installation
18
Side View
Pressure controllers have trip point test jacks located on the left, or valve, side of the unit. The
test jacks enable you to measure the voltage value of each trip point while adjusting it via pots on
the top of the unit. The trip point setting is adjustable from 0 to 5 Volts.
Figure 4: Side View of the 640B Series Controller
(Side opposite pressure-controlled port)
0.75
(19.0)
5.29
(134.4)
Test Jacks
for Trip Points
1.50
(38.0)
0.19 (4.83)

Table of Contents

Related product manuals