EasyManua.ls Logo

Motorola MTM800 FuG

Motorola MTM800 FuG
268 pages
To Next Page IconTo Next Page
To Next Page IconTo Next Page
To Previous Page IconTo Previous Page
To Previous Page IconTo Previous Page
Loading...
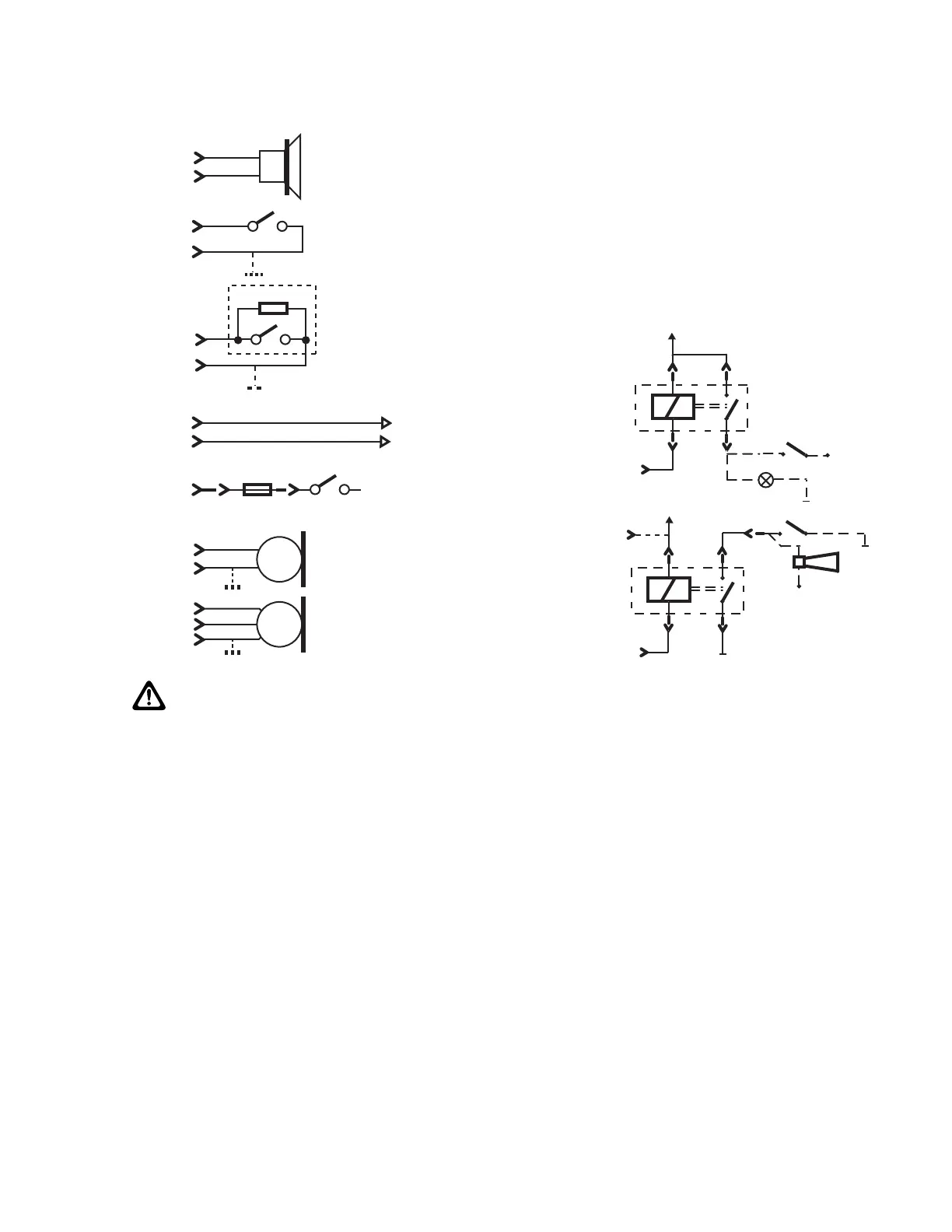
Abbildung 56: Anschlussdiagramme
86
85
87
30
+12 V
EXT_ALARM 26
86
85
87
30
+12 V
EXT_ALARM 26
+12 V
+12 V
SWB+ 7
RMN5054
1-WIRE 5
MIC1/EXT_MIC 13
GND_MIC 16
12k
RSN4002 Lautsprecher 13 W
RSN4004 Lautsprecher 5 W
RLN4857 Sendetaste mit Kabel
RLN4858 Sendetaste mit Schwanenhals
und Kabel
RLN4836 Notruftaste mit Kabel
GMLN5091 Anschlusssatz externes Alarmrelais,
bestehend aus:
GKN6272 Externes Alarmrelais und Kabel
PMLN5072 Zubehöranschlusssatz
4 A
PMKN4119 Lautsprecher
-Verlängerungskabel
PMMN4087 Freisprech-Mikrofon
GMMN4065 mit Kabel
HKN9327 Zünderkennungskabel
mit Sicherung
PMLN5072 Zubehöranschlusssatz, bestehend aus:
1516174H01 Steckergehäuse 26-polig
3915560H01 Crimpkontact 20-24 AWG (Menge: 27)
4210217A02 Nylon-Kabelbinder
6671929L01 Ausrückwerkzeug
9
10
+12 V/
+24 V
Kfz-Zündungs-
schalter
EXT_PTT 17
GND 8
EMERGENCY 23
GND 8
SPEAKER + 9
SPEAKER - 10
MIC1/EXT_MIC 13
GND_MIC 16
SPEAKER + 9
SPEAKER - 10
IGNITION 25
Geeignetes Crimp-Werkzeug (gehört nicht zum
Lieferumfang des PMLN5072):
Hersteller: SamTec
Teilenummer: CAT-HT-179-2024-11910910
VORSICHT:
HKN9327_ Zündungserkennungskabel: Wenn die Zündleitung nicht verwendet wird, muss sie
geerdet werden. Interferenzen können dazu führen, dass das Funkmodul nicht richtig arbeitet.
5.3
Verfahren zum erneuten Zusammenklemmen
Wenn Sie Zubehör von MTM800, z. B. RLN4858_ und GKN6272_, auf der Rückseite des Funkgeräts
anschließen wollen, befolgen Sie die Beschreibung des Crimp-Verfahrens bei Crimp-Pins, die mit dem
PMLN5072_-Anschlusssatz geliefert werden. Wird die Daten-Anschlussdose GMLN5089_ verwendet,
muss kein Crimpen durchgeführt werden, um dieses Zubehör anzuschließen.
Prozess:
1 Schneiden Sie die mit Nickel überzogenen Pins vom Draht ab, und entfernen Sie sie.
2 Entfernen Sie die Isolierung von den Drahtenden (2 bis 4 mm).
3 Legen Sie den neuen, mit Gold überzogenen Crimp-Pin (aus dem Kit PMLN5072_) in die
Öffnung der Crimpzange.
4 Führen Sie den Draht in die Drahtöffnung des Crimp-Pins ein.
5 Drücken Sie die Griffe der Crimpzange zusammen, bis der Draht durch den Pin
zusammengeklemmt ist.
68015000553-KC
Kapitel 5: Anschlüsse und PIN-Belegung
Feedback senden 95

Table of Contents

Other manuals for Motorola MTM800 FuG

Related product manuals