EasyManua.ls Logo

MSA Chemgard - Appendix B Relay Module

MSA Chemgard
74 pages
Print Icon
To Next Page IconTo Next Page
To Next Page IconTo Next Page
To Previous Page IconTo Previous Page
To Previous Page IconTo Previous Page
Loading...
Appendix B, Relay Module
Chemgard Infrared Gas Monitor
B-1
Appendix B
Relay Module
This accessory module has not be evaluated by Underwriters Laboratory, Inc.
General Description
The Chemgard Relay Module is intended to
provide discrete relay outputs for the Chemgard
Infrared Gas Monitor equipped with a
multi-point sequencer.
The Chemgard Infrared Gas Monitor has three
alarm threshold levels (CAUTION, WARNING,
and ALARM), each with a corresponding form C
relay output. The user can obtain alarm level
information via the set of three relay contacts.
The Chemgard Infrared Gas Monitor relays do not
convey point-wise alarm level information. These
relays provide information at the monitor level
only, one set of relay contacts (CAUTION,
WARNING and ALARM) per sequencer point.
Used as intended, the Chemgard Relay
Module enables the user to obtain point-wise
alarm level information.
The Chemgard Relay Module monitors the current
state of the Monitor and sets its installed relays
according to information received. While the
Chemgard Relay Module receives its information
from the Chemgard Infrared Gas Monitor, it
is
important to note that the Relay Module operates
independently with respect to the Reset Switch
and Audio operation. Refer to "Operation" later in
this appendix for details.
NOTE: The use of ALARM in capital letters refers to
the specific Chemgard Infrared Gas Monitor
third alarm threshold level.
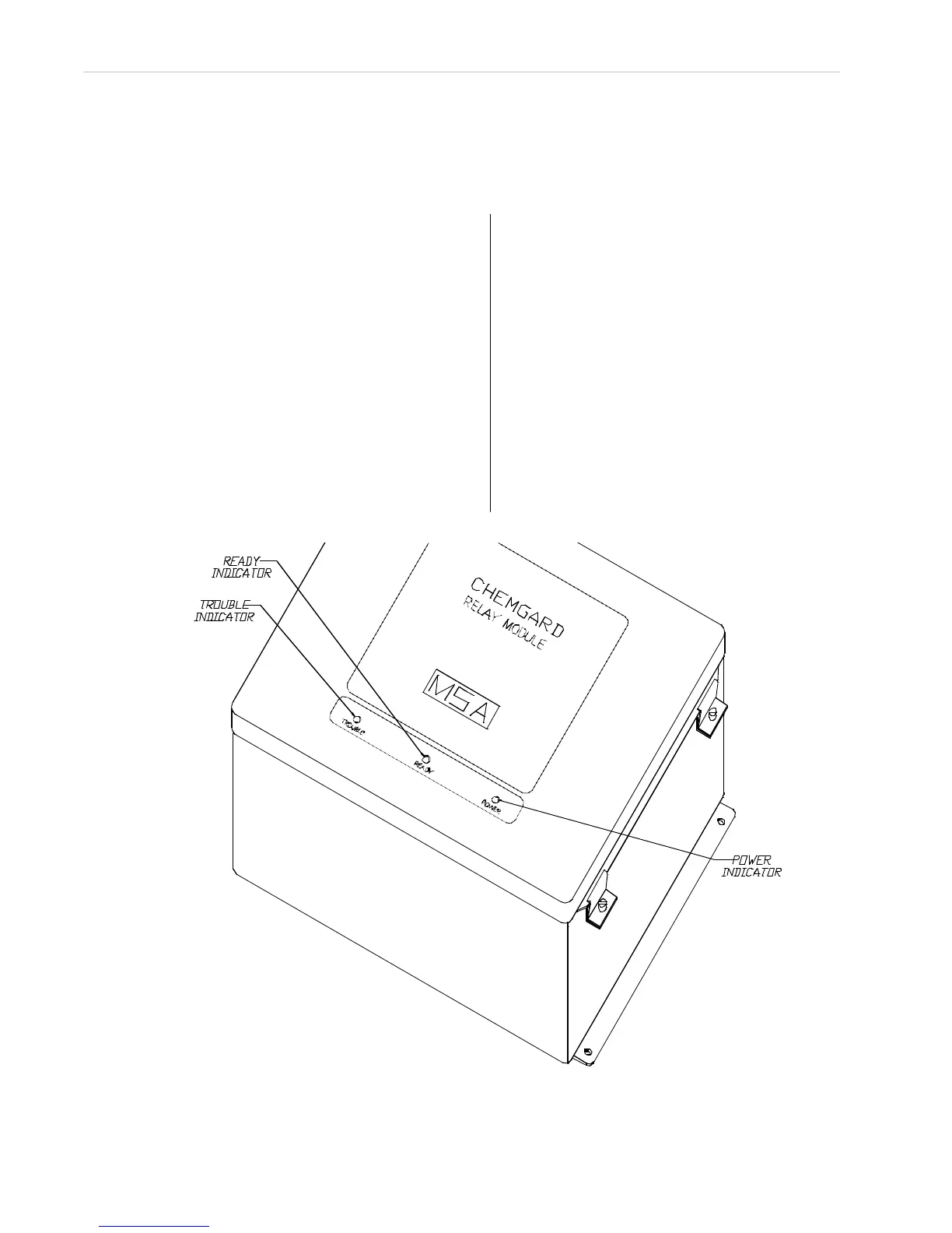
Figure B-1. Relay Module

Table of Contents

Related product manuals