EasyManua.ls Logo

NEC e228 - What Is Memory Stick Duo

NEC e228
159 pages
Print Icon
To Next Page IconTo Next Page
To Next Page IconTo Next Page
To Previous Page IconTo Previous Page
To Previous Page IconTo Previous Page
Loading...
-87- Using the File Manager
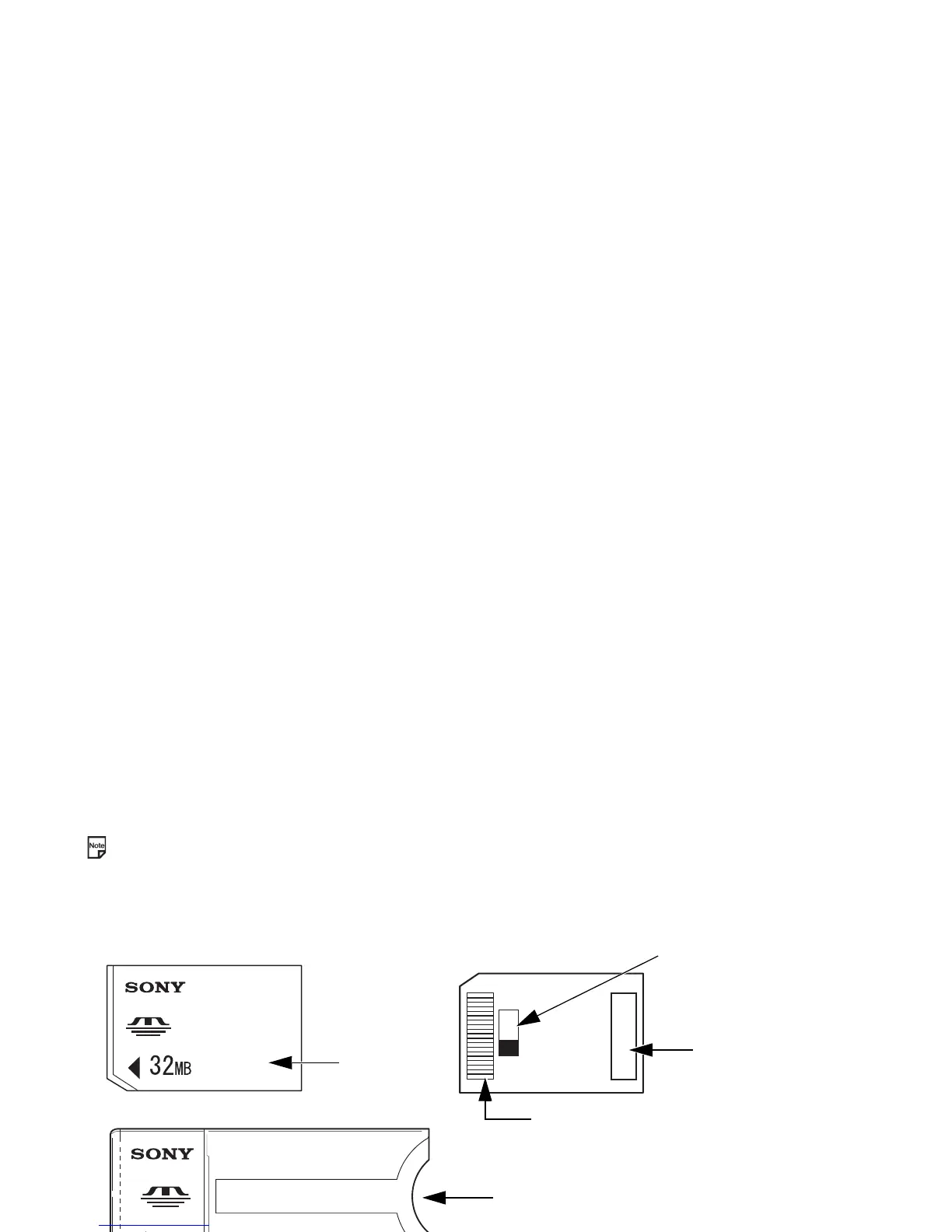
What is Memory Stick Duo™?
Memory Stick Duo™ is a new, compact, portable and versatile IC (integrated circuit) recording medium with a data capacity
that exceeds a floppy disk. Memory Stick is specially designed for exchanging and sharing digital data among Memory Stick
compliant products. Because it is removable, Memory Stick Duo can also be used for external data storage.
Memory Stick is available in two sizes: standard size and compact Memory Stick Duo™ size. Once attached to a Memory
Stick Duo adapter, Memory Stick Duo becomes the same physical size as the standard Memory Stick and thus can be used
with products compliant with the standard Memory Stick. Memory Stick is available in various types and sizes to meet various
requirements. Memory Stick Duo is the only format compatible with the e228.
Memory Stick Duo is available as an accessory. Please contact 3 for more information.
Memory Stick Duo
Front
Back
Adapter
Memory Stick Duo™ Overview
Memory Stick Duo Adaptor
INSERT
Insert Memory Stick Duo in this direction
Connector (do not touch)
Memo area
Memory erasure
prevention switch
Label

Table of Contents

Related product manuals