EasyManua.ls Logo

NEC switch - Page 131

NEC switch
234 pages
Print Icon
To Next Page IconTo Next Page
To Next Page IconTo Next Page
To Previous Page IconTo Previous Page
To Previous Page IconTo Previous Page
Loading...
CHAPTER 8 USB FUNCTION
Users Manual U12978EJ3V0UD
131
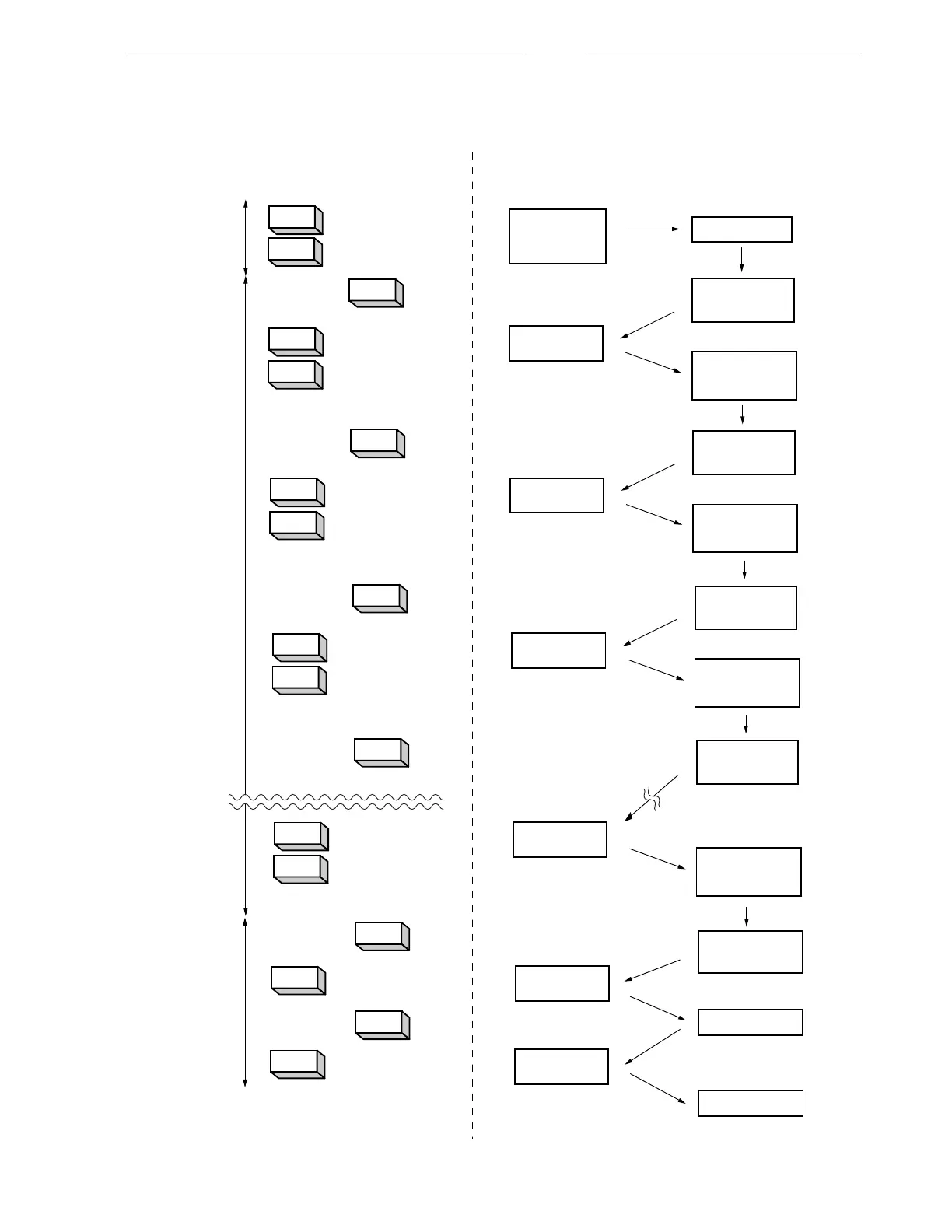
(2) Control transfer (OUT) (Transfer byte count: 9 bytes or more)
Request
Operation of
host controller
OUT packet
SETUP
DATA0
ACK
Packet from
host controller
Packet from
PD789800
Setup
stage
Data
stage OUT
reception
IN
ACK
OUT
DATA1
DATA1
ACK
ACK transmission
NAK transmission
reservation
Operation of USB
function of PD789800
ACK transmission
reservation
NAK transmission
reservation clear
ACK transmission
reservation
ACK transmission
DATA1 transmission
reservation
IN packet
DATA1 transmission
NAK transmission
reservation
Status stage
IN reception
Packet flow
ACK packet
ACK
OUT
DATA0
ACK
OUT
DATA1
OUT packet
ACK transmission
NAK transmission
reservation
NAK transmission
reservation clear
ACK transmission
reservation
OUT packet
ACK transmission
NAK transmission
reservation
NAK transmission
reservation clear
ACK transmission
reservation
ACK
OUT
DATA1/0
OUT packet
ACK transmission
NAK transmission
reservation
NAK transmission
reservation clear
ACK transmission
reservation
µ
µ

Table of Contents