EasyManua.ls Logo

NEC switch - Page 132

NEC switch
234 pages
Print Icon
To Next Page IconTo Next Page
To Next Page IconTo Next Page
To Previous Page IconTo Previous Page
To Previous Page IconTo Previous Page
Loading...
CHAPTER 8 USB FUNCTION
Users Manual U12978EJ3V0UD
132
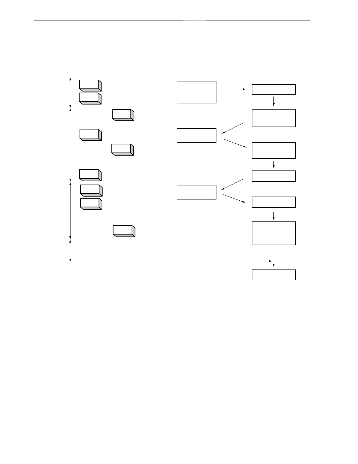
(3) Control transfer (IN) (Transfer byte count: 8 bytes or less)
Request
Operation of host
controller
IN packet
SETUP
DATA0
ACK
Packet from
host controller
Packet from
PD789800
Setup
stage
Data
stage IN
reception
ACK
IN
DATA1
ACK transmission
DATA1 transmission
reservation
Operation of USB
function of PD789800
ACK transmission
reservation
DATA1 transmission
NAK transmission
reservation
ACK transmission
USB communication
completion timer
start
NAK transmission
reservation
OUT
reception
wait
Status
stage OUT
reception
Packet flow
ACK
OUT packet
NAK transmission
reservation clear
OUT
DATA1
ACK transmission
reservation
USB communication
completion timer timeout
Note
µ
µ
Note If the ACK from the device cannot be received normally, the host transmits OUT again. Therefore, set
the OUT receive wait state for a period so that the OUT can be received. Use a normal 8-bit timer for
counting during this period.

Table of Contents