EasyManua.ls Logo

Nokia RM-512 - Phone Cannot be Powered on (I)

Nokia RM-512
178 pages
Print Icon
To Next Page IconTo Next Page
To Next Page IconTo Next Page
To Previous Page IconTo Previous Page
To Previous Page IconTo Previous Page
Loading...
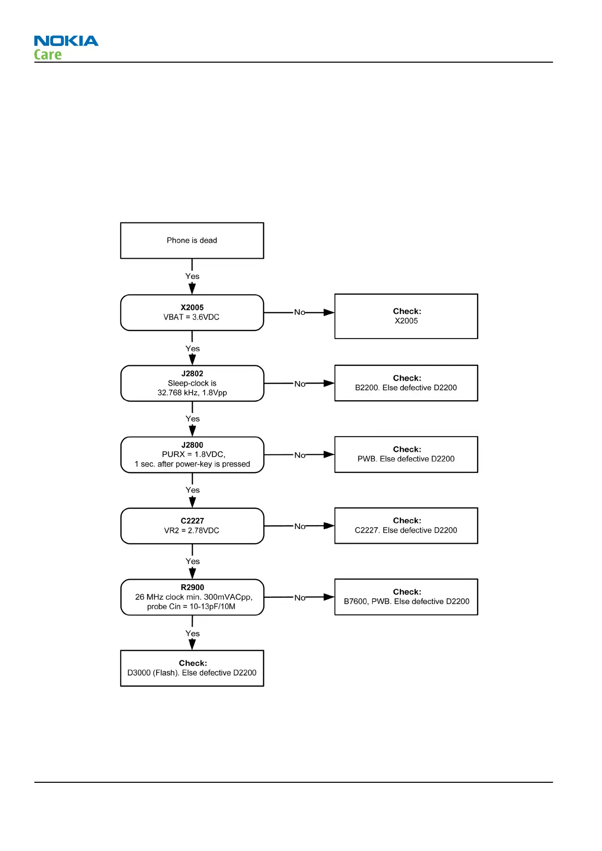
Phone cannot be powered on (I)
Context
This means that the phone does not use any current at all when the supply is connected and/or power key
is pressed. It is assumed that the voltage supplied is 3.6VDC. The Liteplus will prevent any functionality at
battery/supply levels below 2.9VDC.
Troubleshooting flow
Figure 13 Troubleshooting when phone cannot be powered on
RM-512; RM-513; RM-514; RM-515; RM-543
Baseband Troubleshooting Instructions
Page 3 –6 COMPANY CONFIDENTIAL Issue 2
Copyright © 2009 Nokia. All rights reserved.

Table of Contents

Related product manuals