EasyManua.ls Logo

Nokia RM-512 - Troubleshooting Diagram for FM Radio

Nokia RM-512
178 pages
Print Icon
To Next Page IconTo Next Page
To Next Page IconTo Next Page
To Previous Page IconTo Previous Page
To Previous Page IconTo Previous Page
Loading...
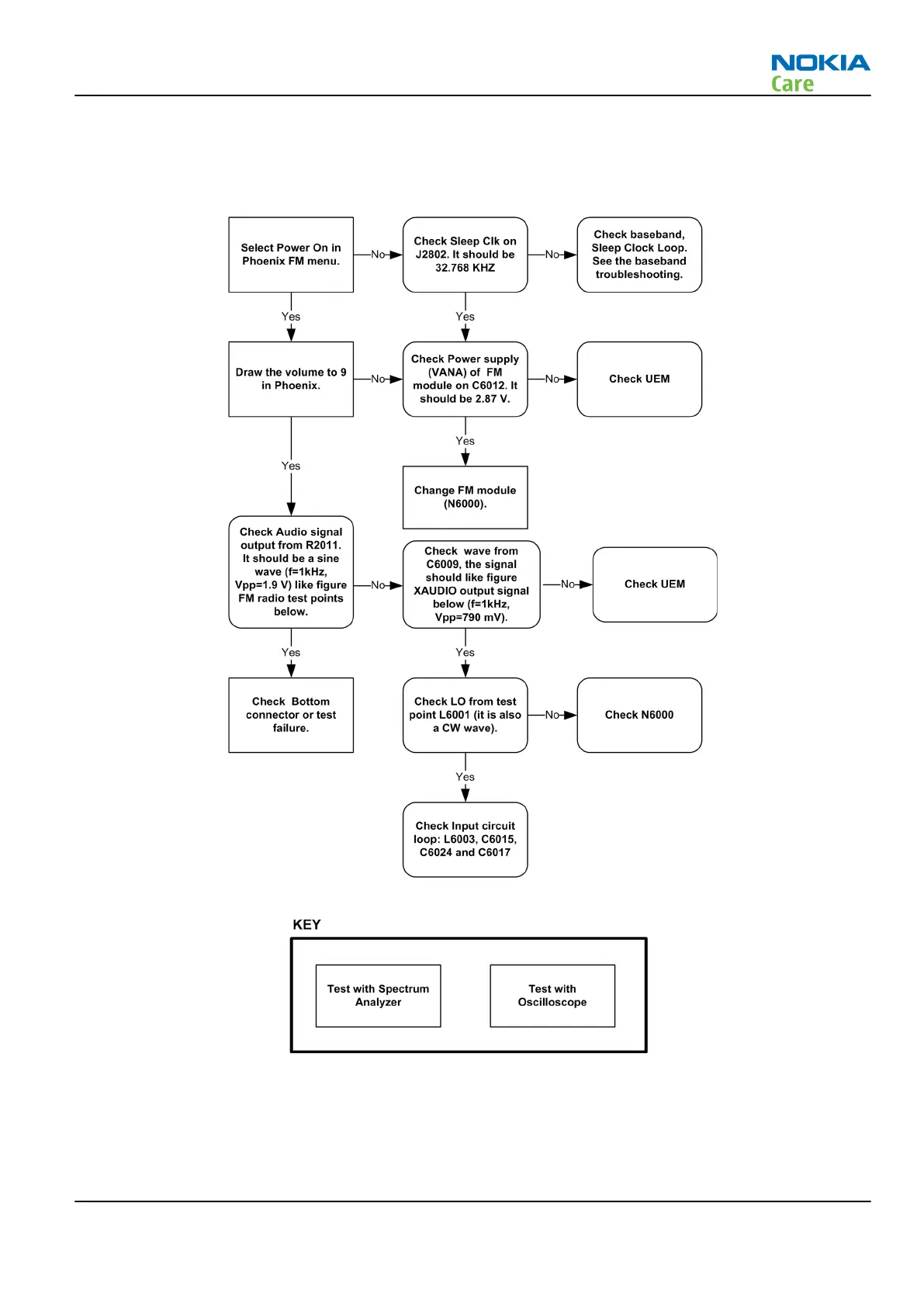
Troubleshooting diagram for FM radio
Troubleshooting flow
Figure 87 FM circuit troubleshooting diagram
RM-512; RM-513; RM-514; RM-515; RM-543
RF Troubleshooting Instructions
Issue 2 COMPANY CONFIDENTIAL Page 4 –51
Copyright © 2009 Nokia. All rights reserved.

Table of Contents

Related product manuals