EasyManua.ls Logo

Nokia RM-512 - Phone Cannot be Powered on (II)

Nokia RM-512
178 pages
Print Icon
To Next Page IconTo Next Page
To Next Page IconTo Next Page
To Previous Page IconTo Previous Page
To Previous Page IconTo Previous Page
Loading...
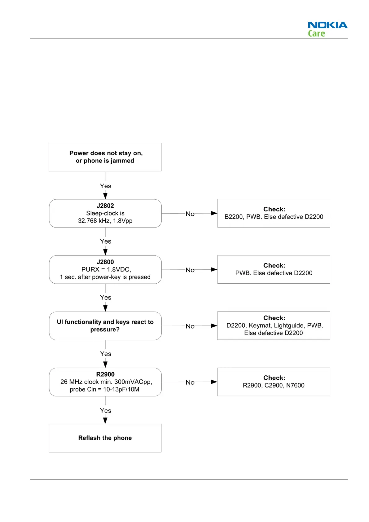
Phone cannot be powered on (II)
Context
If this kind of failure is presenting itself immediately after FLALI, it is most likely caused by ASIC's missing
contact with PWB.
If the MCU doesn’t service the watchdog register within the Liteplus, the operations watchdog will run out
after approximately 32 seconds. Unfortunately, the service routine can not be measured.
Troubleshooting flow
Figure 14 Troubleshooting when phone does not stay on or phone is jammed
RM-512; RM-513; RM-514; RM-515; RM-543
Baseband Troubleshooting Instructions
Issue 2 COMPANY CONFIDENTIAL Page 3 –7
Copyright © 2009 Nokia. All rights reserved.

Table of Contents

Related product manuals