EasyManua.ls Logo

Nokia RM-512 - Check Earpiece Using Ext Microphone in Hp Speaker Out Loop; Check IHF & Ringing Tone Function Using Buzzer

Nokia RM-512
178 pages
Print Icon
To Next Page IconTo Next Page
To Next Page IconTo Next Page
To Previous Page IconTo Previous Page
To Previous Page IconTo Previous Page
Loading...
7. Check if signal is detected at HS EAR L/R, shown in
Figure 4-pole jack plug for audio accessory
above.
Figure 24 Test arrangement for microphone
Check earpiece using "Ext microphone in Hp speaker out" loop
Steps
1. Connect phone with Phoenix.
2. Open the
Audio Test
window from Testing Audio test , as shown in Figure
Phoenix audio test
window
above.
3. Select Ext microphone in Hp speaker out.
4. Select Acc.Detection as Off.
5. Select Loop as On.
6. Input signal to HS MIC, as shown in Figure
4-pole jack plug for audio accessory
above, for example
100mVpp, 1kHz.
7. Check if sound is heard in the earpiece.
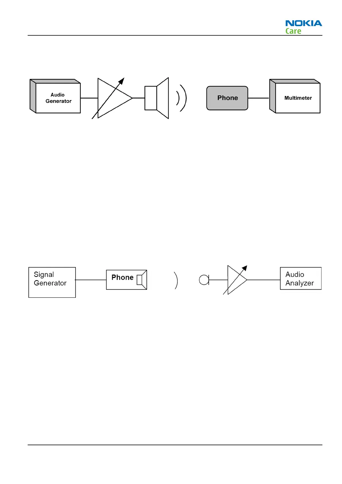
Figure 25 Test arrangement for of earpiece
Check IHF & ringing tone function using "Buzzer"
Steps
1. Connect phone with Phoenix.
2. Open “audio test” window from “Testing -> Audio test”, as shown in
Figure Phoenix audio test window
above.
3. In “Buzzer” area, select suitable signal to be played, for example 1 kHz, Strength 5”
4. Select “Volume” as “On”
RM-512; RM-513; RM-514; RM-515; RM-543
Baseband Troubleshooting Instructions
Issue 2 COMPANY CONFIDENTIAL Page 3 –19
Copyright © 2009 Nokia. All rights reserved.

Table of Contents

Related product manuals