EasyManua.ls Logo

Omega PLATINUM Series - Page 13

Omega PLATINUM Series
79 pages
To Next Page IconTo Next Page
To Next Page IconTo Next Page
To Previous Page IconTo Previous Page
To Previous Page IconTo Previous Page
Loading...
PLATINUM
TM
Series Controllers User’s Guide
M5451 Omega Engineering | www.omega.com
13
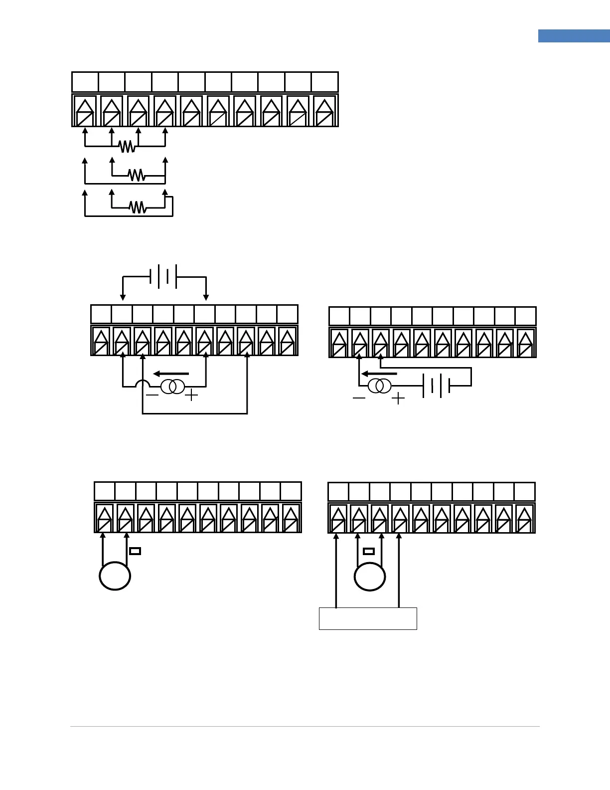
Wiring Instructions
External
Excitation
Internal
1
2
3
4
5
6
7
8
9
10
Figure 5 RTD Wiring Diagram
Figure 6 Process Current Wiring Hookup with Internal and External Excitation
Figure 7 Process Voltage Wiring Hookup with optional Ratiometric Voltage connection.
1
2
3
4
5
6
7
8
9
10
RTD (100 Ω) 4-WIRE
RTD (100 Ω) 3-WIRE
RTD (100 Ω) 2-WIRE (requires
pin 1 to be jumped to pin 4)
1
2
3
4
5
6
7
8
9
10
0–24 mA
Internal
Excitation
1
2
3
4
5
6
7
8
9
10
1
2
3
4
5
6
7
8
9
10
V
V
+/- 10, +/- 1 and +/- 0.1
Single End Voltage
+/- 0.1and +/- .05 Differential /
Ratiometric Voltage
Reference Voltage

Table of Contents

Related product manuals