EasyManua.ls Logo

Oval 50 - Operating Instructions; Initial Operation Procedure; General Operating Precautions

Default Icon
32 pages
Print Icon
To Next Page IconTo Next Page
To Next Page IconTo Next Page
To Previous Page IconTo Previous Page
To Previous Page IconTo Previous Page
Loading...
B-149-4N-E
13
9. OPERATING INSTRUCTIONS
9.1 Operation
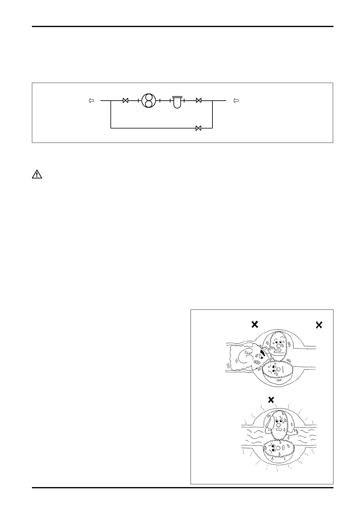
At rst-time operation, carefully operate in the following sequence, allowing the ow within the ow range
specied. (Refer to the piping diagram below.)
(1) Shut off the valve (A) on the inlet side and the valve (B) on the outlet side and then open the bypass line
valve (C) to allow the uid in the bypass line, thereby removing weld chips, scales and other foreign matter
left in the piping assembly.
CAUTION: This is particularly important on new installations.
(2) Carefully and slightly at rst, open the valve (A) upstream of the meter progressively and then, slightly at
rst, open the valve (B) downstream progressively.
(3) Slowly close the bypass line valve (C) and make sure that the total counter in the register advances in
response. Maintain a owrate 10 to 20% of the maximum owrate (conrm it in the instantaneous owrate
display mode) at this time, allow the ow for more than 15 minutes and make sure that air in the piping
assembly has totally escaped.
In applications where temperature exceeds 60°C, run the system at least for 30 minutes in this state to
ensure uniform heat distribution in the measuring chamber.
(4) Following the break-in operation (preheating), shut off the bypass line valve (C) completely and open the
upstream valve (A) progressively until fully open and slowly open the downstream valve (B) until the rated
ow is obtained.
(5) Flowrate should be regulated with the valve (B) downstream of the meter and should be held within the
rating.
(6) The strainer net should be inspected for condition and cleaned on a regular basis. On a new installation, in
particular, inspect daily rst and, according to the clogged condition of the net being observed, inspection
intervals may be reduced progressively to, say, once a week.
BYPASS LINE
METER
STRAINER
VALVE
FLOW DIRECTION
9.2 Operating Precautions
(1) When changing flowrates
In applications where the flowrate varies or where
shutoff valve opening and closure takes place in
batch operation, avoid rapid changes in flowrate
across the meter.
Operating the meter at flowrates in excess of
the maximum allowable flowrate will nullify the
guaranteed accuracy, reduce the meter life and may
result in faulty conditions, such as the seizure of
bearings or the rotor-to-measuring chamber contact.
(2) Where the temperature of metered fluid
changes
Avoid rapid temperature changes in the meter.
Temperature changes of the uid in the meter should
be held within 3°C per minute.
Extra care should be used particularly when making
a ow measurement in batch operation without the
provision of heat tracing of the piping where the uid
temperature differs from atmospheric temperature.
If rapid temperature changes are anticipated, heat
trace the piping assembly as well as the meter.
EXCESSIVE
FLOW
RAPID FLOW
VARIATION
RAPID TEMPERATURE
CHANGES
"See also page 15 for the jacketed type".

Table of Contents

Related product manuals