EasyManua.ls Logo

Permalert PAL-AT AT30C - PAL-AT Control of Output Relays

Permalert PAL-AT AT30C
62 pages
Print Icon
To Next Page IconTo Next Page
To Next Page IconTo Next Page
To Previous Page IconTo Previous Page
To Previous Page IconTo Previous Page
Loading...
Output Relay System
54
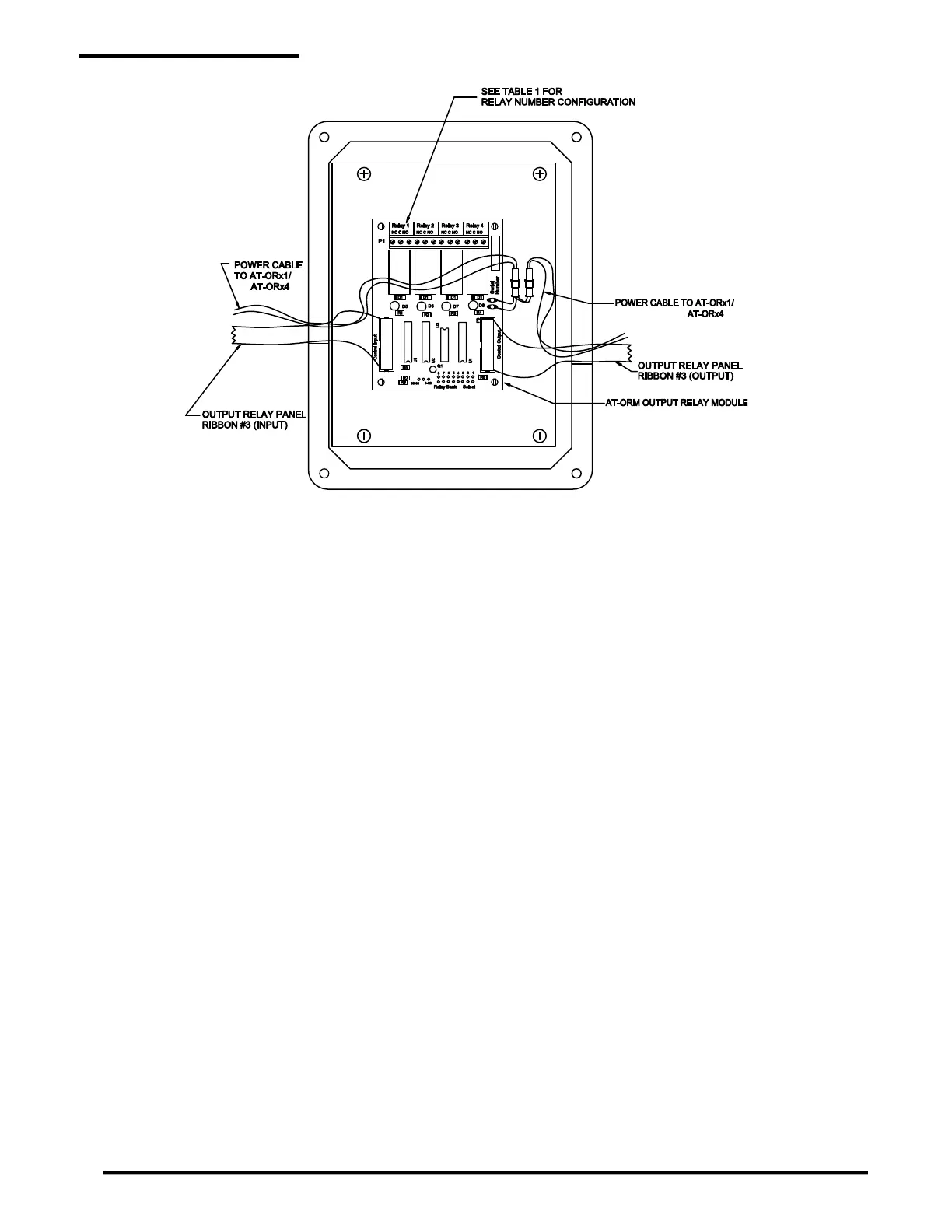
Figure A-3: AT-ORx1 Output Relay Panel Wiring Diagram
A.2 Relay Module Configuration
Each added AT-RM relay module must be configured before operating the system. Two jumpers are set
to select the numbers assigned to the 4 relays (1-4, 5-8, etc.). Locate the jumpers in the lower right corner.
The 60 relays are organized in 15 banks of 4. The first AT-RM is set to bank 1 and addresses relays 1 to
4. The Relay Number Select Jumper sets the module to address relays from 1-32 or 33-60. The Relay
Bank Select Jumper selects which group of 4 numbers to assign (5-8, 9-12, etc.). Labels are supplied to
renumber the relays. Place them over the relay label that is printed on the Relay Module circuit board.
Refer to Table A-1 for jumper settings.

Table of Contents

Other manuals for Permalert PAL-AT AT30C

Related product manuals