EasyManua.ls Logo

Ravelli Hydro - Chimney Connection; Components; Connections; Stove-System Connection

Ravelli Hydro
Print Icon
To Next Page IconTo Next Page
To Next Page IconTo Next Page
To Previous Page IconTo Previous Page
To Previous Page IconTo Previous Page
Loading...
Use and maintenance manual Touch Radio Hydro
Pag.19
Rev.0 18/05/2021
EN
CONNECTIONS
📌The connections must be set up by a technician that is qualified and/or authorised by the Manufacturer.
📌By the installer the type of cable, with relative section, to be installed in case of replacement is: H05RR-F sez.3G0,75
Chimney connection
The chimney must be sized so as to guarantee the draught declared by the Manufacturer.
The stove must be connected to a single flue. It is forbidden to connect the stove to a flue shared with other combustion
appliances or with hood exhausts.
The flue must be inspectable for cleaning.
Components
This stove is equipped with the following control and safety components:
3 bar safety valve;
Booster pump control thermostat (integrated in the functions of the electronic board);
Acoustic alarm activation thermostat (integrated in the functions of the electronic board);
Temperature indicator (integrated in the functions of the electronic board, with display);
Pressure indicator (integrated in the functions of the electronic board, with display);
Acoustic alarm (integrated in the functions of the electronic board);
Automatic regulation thermal switch (integrated in the functions of the electronic board);
Automatic blocking thermal switch (manual reset thermostat);
Circulation system;
Expansion system (Expansion vessel).
Local laws and regulations (for example the UNI 10412-2 standard valid in Italy) could provide for other safety components. In this
case they must be mounted in the system.
The construction of a heating system with the relative installation of the boiler must comply with all national and local regulations in
force in the place where the system is carried out.
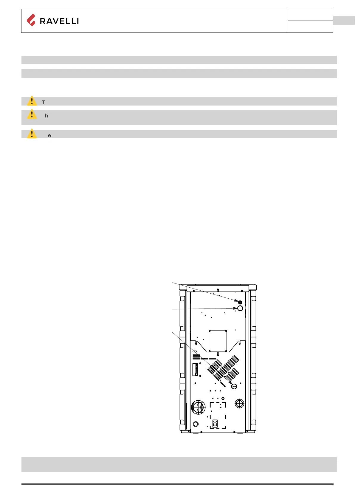
Stove-system connection
¾" RITORNO IMPIANTO
¾" MANDATA IMPIANTO
Ø18 SCARICO SICUREZZA
Connect the stove to the hydraulic system so as not to constrain it excessively and to allow it to move slightly.
📌Before connecting the thermo-stove, it is strongly recommended that the system be thoroughly washed in order to eliminate
residues and deposits.
Ø18 Safety drain
3/4’’ Flow
3/4’’ Return

Table of Contents

Other manuals for Ravelli Hydro

Related product manuals