EasyManua.ls Logo

Ravelli Hydro - Aansluiting Kachel-Systeem; Aansluiting Rookafvoerkanaal; Aansluitingen; Componenten

Ravelli Hydro
Print Icon
To Next Page IconTo Next Page
To Next Page IconTo Next Page
To Previous Page IconTo Previous Page
To Previous Page IconTo Previous Page
Loading...
Handleiding voor gebruik en onderhoud Touch Radio Hydro
Pag.19
Herz.0 18/05/2021
NL
AANSLUITINGEN
📌De aansluitingen moeten worden uitgevoerd door een gekwalificeerd en/of door de Fabrikant geautoriseerde technicus.
📌Het soort kabel, met bijbehorende doorsnede, dat in geval van vervanging door de fabrikant moet worden gemonteerd is:
H05RR-F doorsn.3G0,75
Aansluiting rookafvoerkanaal
Het rookafvoerkanaal moet van zodanige afmeting zijn dat de door de Fabrikant verklaarde trek wordt gegarandeerd.
De kachel moet worden aangesloten op een apart rookafvoerkanaal. Het is verboden om de kachel aan te sluiten op een
rookafvoerkanaal waarop ook andere verbrandingstoestellen of afvoeren van kappen zijn aangesloten.
Het rookkanaal moet geïnspecteerd kunnen worden voor de reiniging.
Componenten
Deze kachel is voorzien van de volgende controle- en veiligheidscomponenten:
Veiligheidsklep 3 bar;
Bedieningsthermostaat van de circulatiepomp (ingebouwd in de functies van de elektronische kaart);
Activeringsthermostaat van het geluidsalarm (ingebouwd in de functies van de elektronische kaart);
Temperatuurindicator (ingebouwd in de functies van de elektronische kaart, via display);
Drukindicator (ingebouwd in de functies van de elektronische kaart, via display);
Geluidsalarm (ingebouwd in de functies van de elektronische kaart);
Automatische thermische regelschakelaar (ingebouwd in de functies van de elektronische kaart);
Automatische thermische blokkeerschakelaar (thermostaat met handmatige reset);
Circulatiesysteem;
Expansiesysteem (expansievat).
Lees de plaatselijke voorschriften (bijvoorbeeld de norm UNI 10412-2 van kracht in Italië), deze schrijven mogelijk andere veiligheids-
componenten voor. In dat geval moeten ze in het systeem worden gemonteerd.
De realisatie van een verwarmingssysteem met de bijbehorende installatie van de ketel moet voldoen aan alle geldende nationale en
plaatselijke wettelijke voorschriften op de plaats waar het systeem wordt aangelegd.
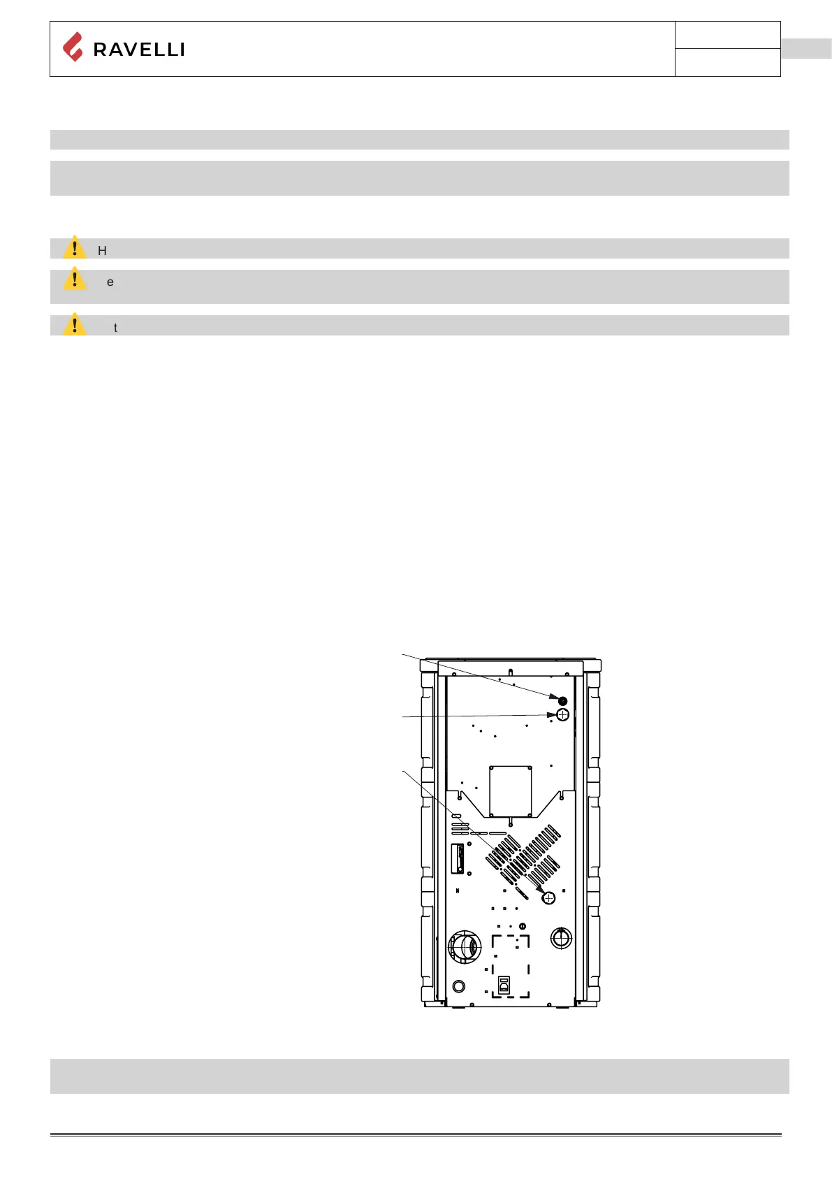
Aansluiting kachel-systeem
¾" RITORNO IMPIANTO
¾" MANDATA IMPIANTO
Ø18 SCARICO SICUREZZA
Sluit de kachel zo op het hydraulisch systeem aan dat hij niet te veel wordt beperkt en om kleine verplaatsingen mogelijk te maken.
📌Alvorens op de aansluiting van de kachel over te gaan wordt het ten zeerste aanbevolen het systeem grondig te wassen, om
residuen en afzettingen te verwijderen.
Ø18 Veiligheidsafvoer
3/4’’ Toevoer
3/4’’ Retour

Table of Contents

Other manuals for Ravelli Hydro

Related product manuals