EasyManua.ls Logo

Renishaw NC1 - Page 32

Renishaw NC1
91 pages
Print Icon
To Next Page IconTo Next Page
To Next Page IconTo Next Page
To Previous Page IconTo Previous Page
To Previous Page IconTo Previous Page
Loading...
30
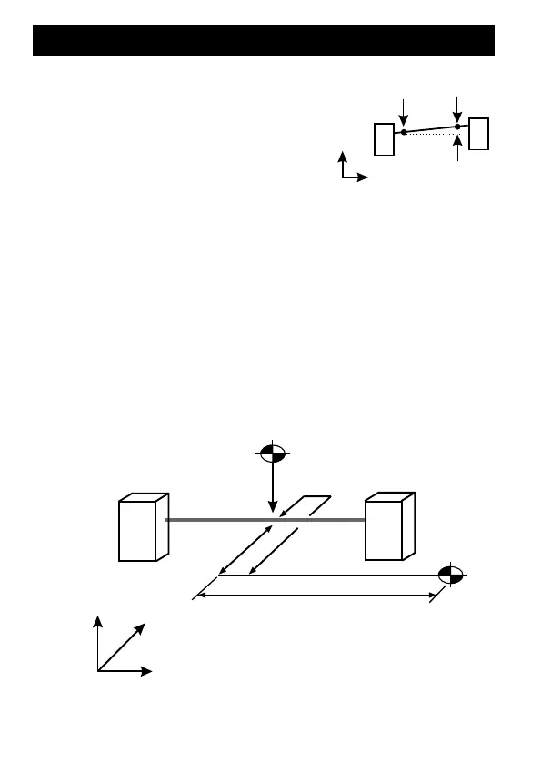
RENC[3] Z-axis beam alignment error
over the measured span.
(This is empty if the Z-axis is
the beam axis.)
If the R02=1 input is used, the following outputs are also set:
RENT[20] Provisional Z-axis position of the beam when measured
from the positive side of the beam.
RENT[22] Provisional X or Y-axis position of the beam when
measured from the positive side of the beam.
RENT[23] Provisional X or Y-axis position of the beam when
measured from the negative side of the beam.
RENT[24] Provisional position along the beam axis at which the
tool is measured.
Beam alignment
RENT[22]
Z
(RENC[23] = 3)
Y (RENC[22] = 2)
X (RENC[21] = 1)
RENT[24]
RENT[20]
RENT[23]
Z+
X+
Y+
P2
P1
+ error

Table of Contents

Related product manuals