EasyManua.ls Logo

Sanyo Denki PY2A030 - Over-Travel Sequence; Positive Over-Travel; Negative Over-Travel

Sanyo Denki PY2A030
138 pages
Print Icon
To Next Page IconTo Next Page
To Next Page IconTo Next Page
To Previous Page IconTo Previous Page
To Previous Page IconTo Previous Page
Loading...
PY Manual Copyright © 2006 SANYO DENKI AMERICA, Inc.
62
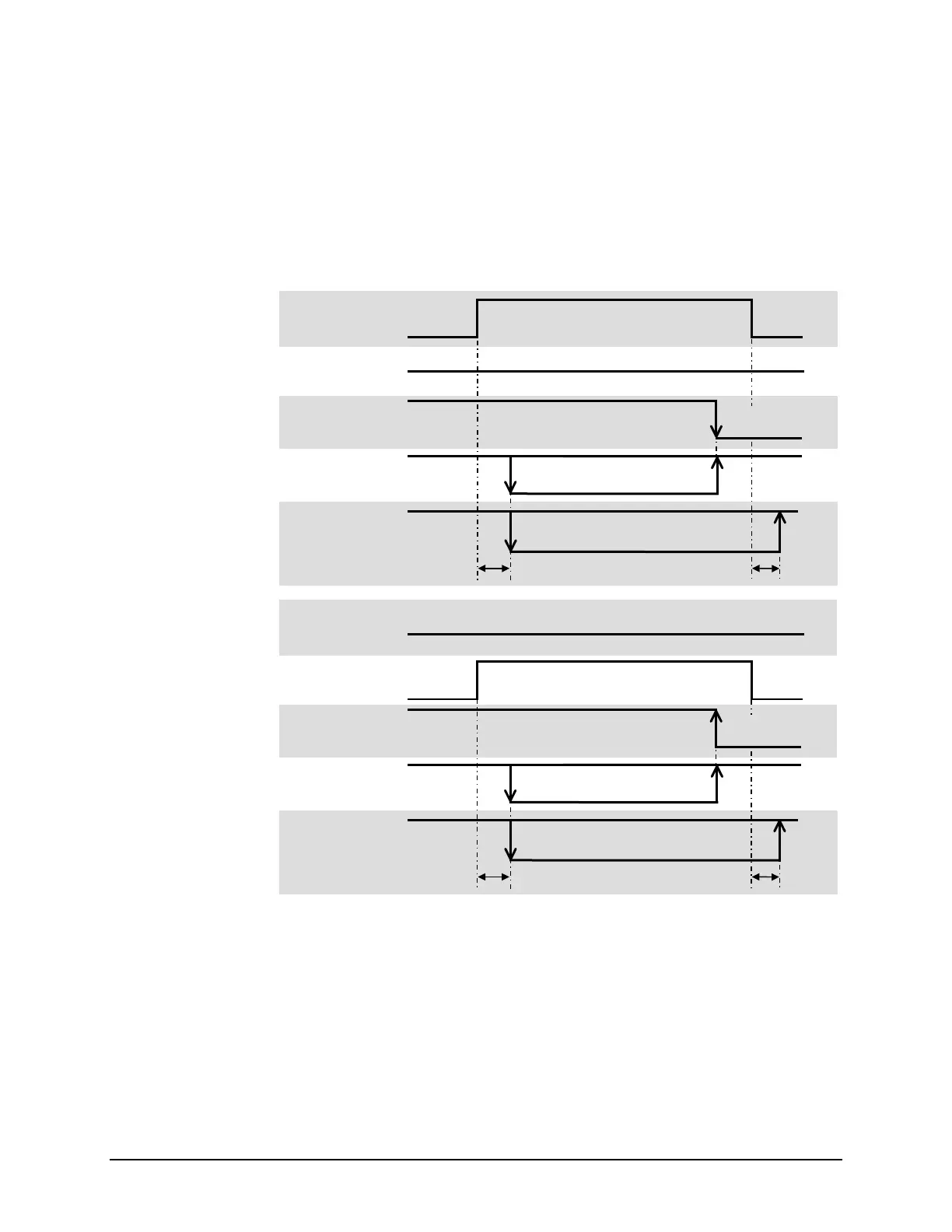
Over-travel Sequence
Over-travel limit inputs are provided on CN1. The positive rotation over-travel (PROT)
limit input is on pin CN1-32 and the negative rotation over-travel (NROT) limit is on pin
CN1-33. This condition is not an alarm. The timing diagrams below define the sequence
of operation for over-travel conditions. Func0 (Mode 2, Bit 5), may be used to change
the sense of the NROT and PROT.
Notes:
1. The operation of the command invalidation differs between position and velocity
controls. For position controls, command pulses are inhibited, and for velocity
controls, the command is forced to 0 (VCMD=0). These settings are valid when the
acceleration/deceleration time (Tvac, Tvde) or low pass filter (VLPF) parameters are
set.
2. Setting the Sequence Current Limit (SILM) parameter using the Remote Operator
(Mode 1, Page 12) can change sequence current limit values.
Positive Over-
Travel
Negative Over-
Travel
Input Command
Forward Revolution
Overtravel (PROT)
Internal Command
Backward Revolution
Overtravel (NROT)
Current Limit
Input Command
Effective
12 msec
12 msec
Forward Revolution
Command
Sequence Current
Limit Value
Off
Off
Normal Limit
Backward Revolution
Command
Input Command
Ineffective
¦
§
Input Command
Forward Revolution
Overtravel (PROT)
Internal Command
Backward Revolution
Overtravel (NROT)
Current Limit
Input Command
Effective
12 msec
12 msec
Backward Revolution
Command
Sequence Current
Limit Value
Off
Off
Normal Limit
Forward Revolution
Command
Input Command
Ineffective
¦
§
Artisan Technology Group - Quality Instrumentation ... Guaranteed | (888) 88-SOURCE | www.artisantg.com

Table of Contents

Related product manuals