EasyManua.ls Logo

SATO HT200e - Operation Panel

SATO HT200e
152 pages
Print Icon
To Next Page IconTo Next Page
To Next Page IconTo Next Page
To Previous Page IconTo Previous Page
To Previous Page IconTo Previous Page
Loading...
SECTION 2: INSTALLATION AND SETUP
Page 2-14 SATO HT200e
AC
ENTR
DATE
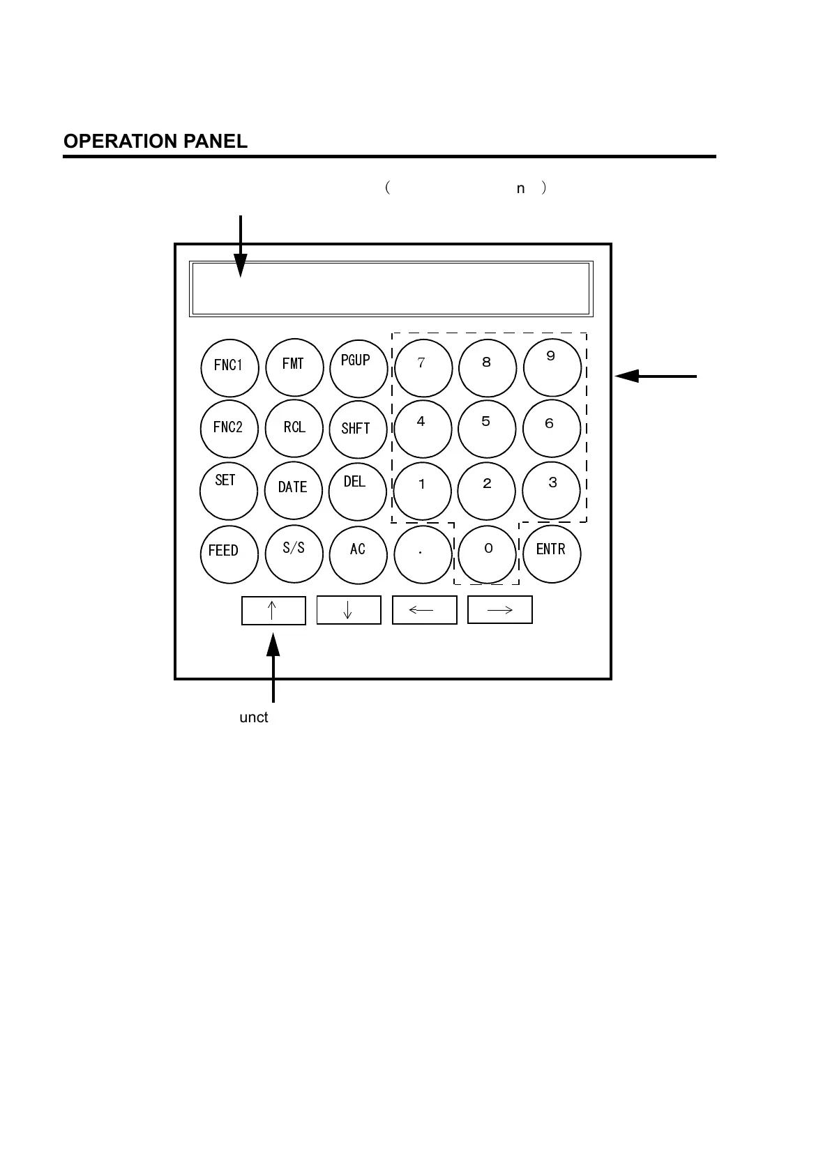
OPERATION PANEL
 
DEL
Numeric
keypad
Function Keys
Liquid Crystal Display (LCD)
16 characters ×3 lines
S/S
FEED
SET
FNC1
FMT
PGUP
FNC2 RCL
SHFT

Table of Contents

Other manuals for SATO HT200e

Related product manuals