EasyManua.ls Logo

Sharp ER-A420 - Setting the Register and Consecutive Numbers; Setting the Register Number (#2612); Setting the Consecutive Number (#2613)

Sharp ER-A420
190 pages
Print Icon
To Next Page IconTo Next Page
To Next Page IconTo Next Page
To Previous Page IconTo Previous Page
To Previous Page IconTo Previous Page
Loading...
82
Setting the register number
When your store has two or more registers, it is practical to set separate register numbers for their identification.
You may set them with a maximum of six digits.
To set the register number as “123456”
Setting the consecutive number
The consecutive number is increased by one each time a receipt is issued.
Enter a number (one to four digits) that is one less than the desired starting number.
Setting the count start number as “1001”
Consecutive
number
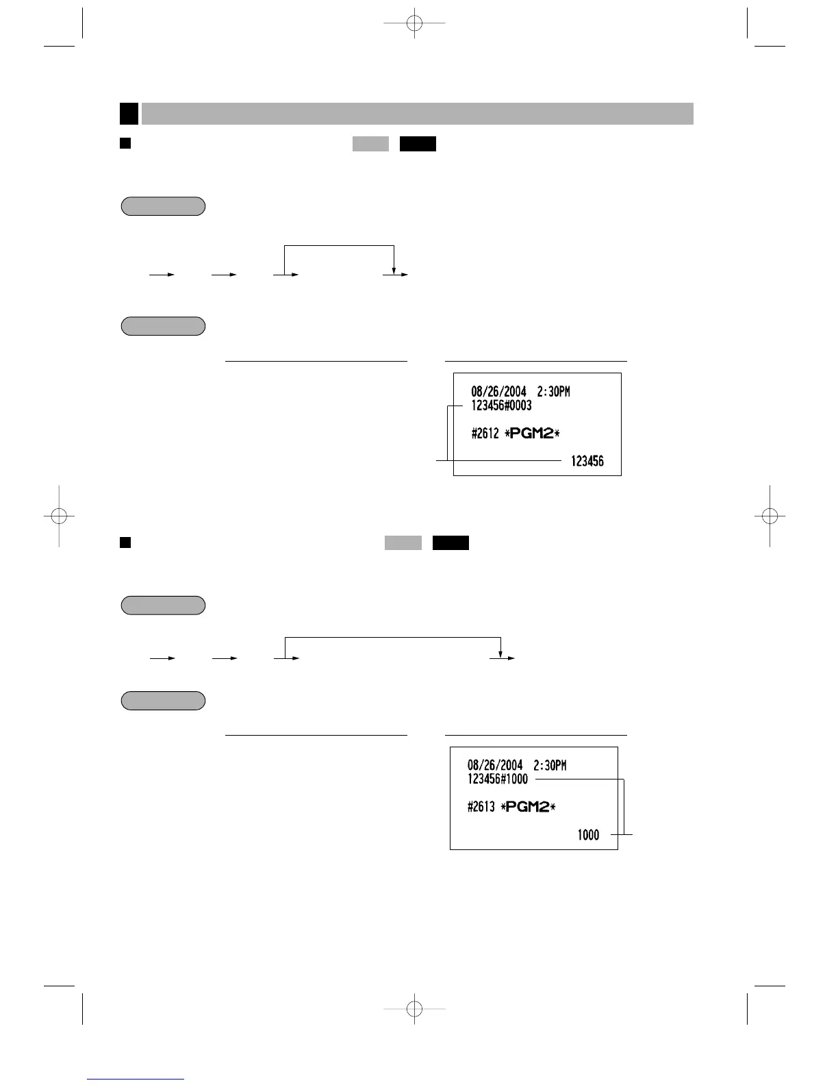
2613
.@
1000
Ç
PrintKey operation
Example
.
@
2613
Ç
A number (one to four digits) that is one
less than the desired starting number
To begin the count from 0001
Procedure
2613
PGM 2
Register
number
2612
.@
123456
Ç
PrintKey operation
Example
2612
.
@
Ç
Register number
(one to six digits)
To set the register number 0
Procedure
2612
PGM 2
Setting the register and consecutive numbers
2
ER-A410/A420(SEC)-3 03.12.22 0:18 PM Page 82

Table of Contents

Other manuals for Sharp ER-A420

Related product manuals