EasyManua.ls Logo

Siemens 1FK7 Series - Trasporto, Montaggio; Trasporto, Stoccaggio

Siemens 1FK7 Series
156 pages
To Next Page IconTo Next Page
To Next Page IconTo Next Page
To Previous Page IconTo Previous Page
To Previous Page IconTo Previous Page
Loading...
ITALIANO
120 610.40 064.01 Siemens AG
4 Trasporto, montaggio
4.1 Trasporto, stoccaggio
Per il trasporto ed il montaggio, utilizzare mezzi di sollevamento adeguati.
Per il trasporto dei motoriduttori, utilizzare cinghie e gli occhielli di sollevamento.
Mezzi di sollevamento secondo 98/37/CE Direttiva sulle Macchine, Appendice I.
Per ulteriori informazioni in merito al peso dei motori, si veda il targhetta.
Durante il trasporto, osservare le norme specifiche locali.
Gli alberi e i cuscinetti non devono essere danneggiati tramite urti!
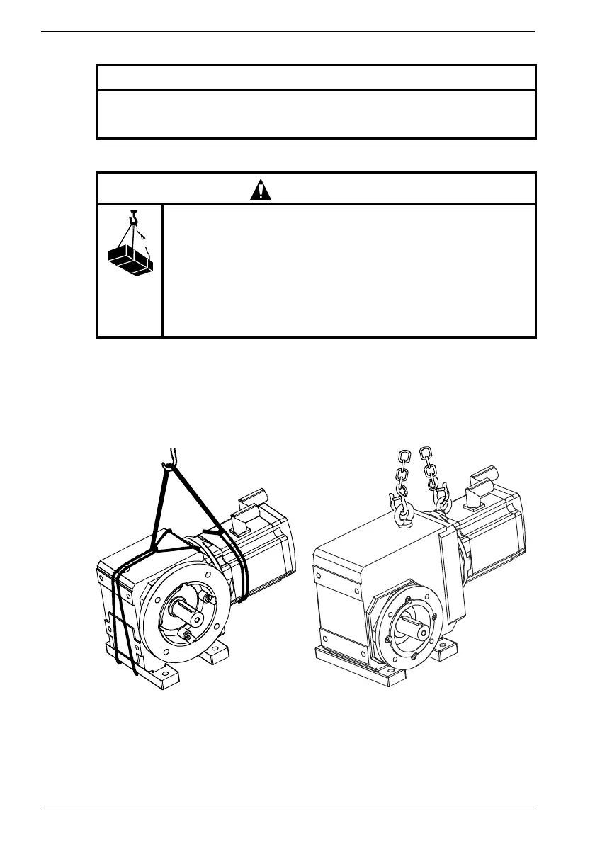
Fig. 11Esempi sul sollevamento e il trasporto
A con cinghie di sollevamento (fune portante)B con occhielli/catene di
sollevamento
Per il trasporto della trasmissione ancora imballata interno all’azienda:
- i motoriduttori di grandi dimensioni vanno sollevati utilizzando gli occhielli di
sollevamento con viti ad anello,
CAUTELA
Vanno osservate le indicazioni in merito al trasporto, l’installazione e il
montaggio delle istruzioni per l’uso del servomotore trifase 1FK7. (N.
ordinazione/categorico 610.40 700.21)!
AVVERTENZA
Pericolo nella fase di trasporto e sollevamento!
I lavori non eseguiti a regola d’arte, le apparecchiature e i mezzi
ausiliari non idonei o difettosi possono causare lesioni corporali e/o
danni alle attrezzature.
I sollevatori, i veicoli per trasporti interni e i mezzi di sollevamento
devono essere conformi alle normative vigenti.
In caso di lavori di montaggio sul freno di arresto o sul motore di
freno, vanno assolutamente osservate le norme vigenti di sicurezza
(ad es. VBG 8) per la sosta sotto carichi pendenti!
A
B

Table of Contents

Other manuals for Siemens 1FK7 Series

Related product manuals