EasyManua.ls Logo

Siemens 1FK7 Series - Non-operational periods

Siemens 1FK7 Series
156 pages
To Next Page IconTo Next Page
To Next Page IconTo Next Page
To Previous Page IconTo Previous Page
To Previous Page IconTo Previous Page
Loading...
DEUTSCH
46 610.40 064.01 Siemens AG
4 Transport, Montage
4.1 Transport, Lagerung
Für Transport und Montage geeignete Lastaufnahmemittel benutzen.
Schlaufenhebegurte bzw. Hebeösen für den Transport der Getriebemotoren verwenden.
Lastaufnahmemittel nach 98/37/EG Maschinenrichtlinie, Anhang I.
Genaue Angaben zur Masse der Motoren siehe Typenschild.
Beim Transport landesspezifische Vorschriften einhalten.
Wellen und deren Lager dürfen nicht durch Stöße beschädigt werden!
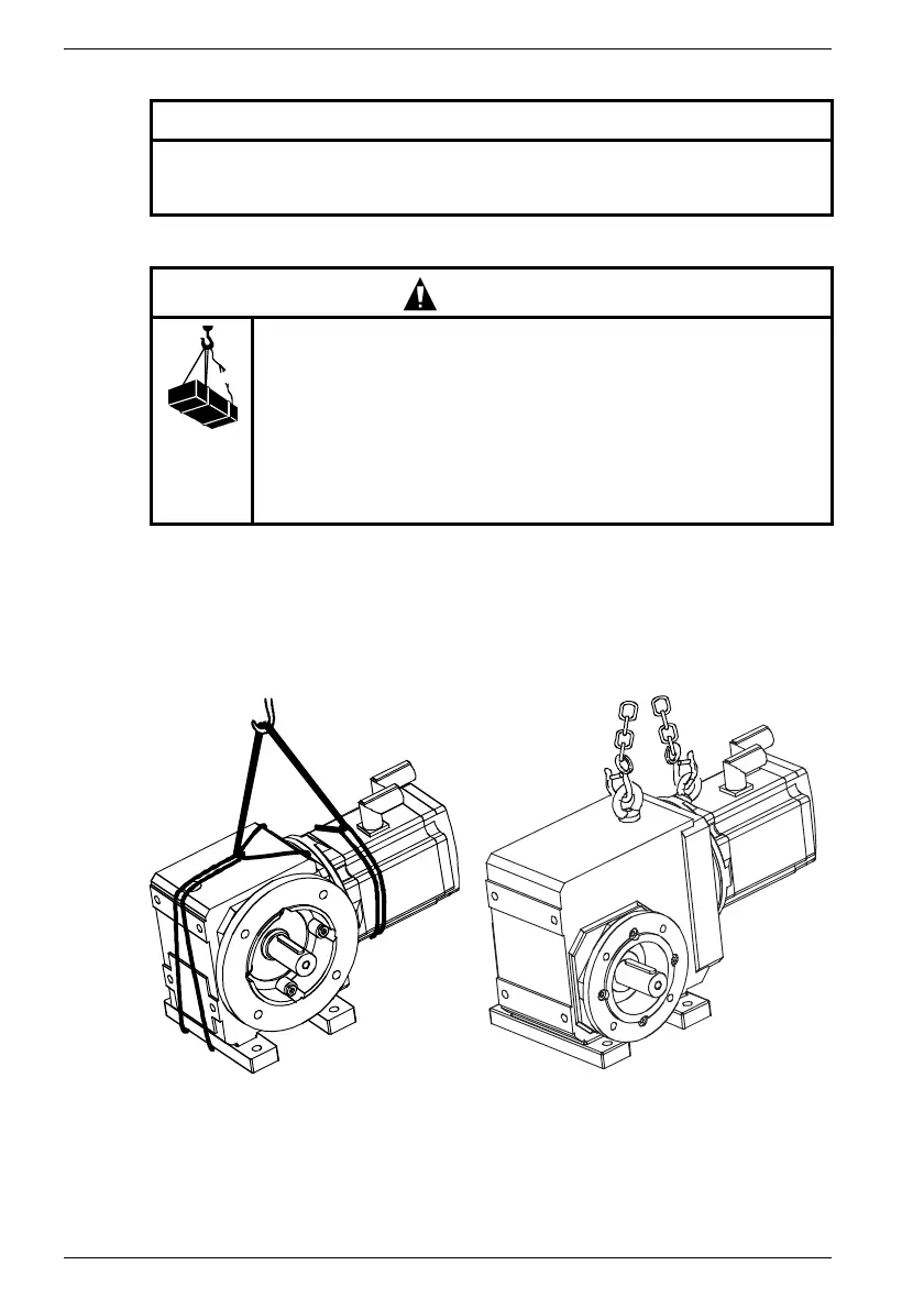
Fig. 11Beispiele für Heben und Transportieren
A mit Schlaufenhebegurten (Tragseil) B mit Hebeösen/Ketten
Für innerbetrieblichen Transport des unverpackten Antriebes sind:
- große Getriebemotoren mit Hebeösen an den Ringschrauben aufzunehmen,
- kleinere Getriebemotoren mittels geeigneten Schlaufenhebegurten (Tragseil) am
Getriebemotor aufzunehmen.
VORSICHT
Die Angaben zu Transport, Aufstellung und Montage der Betriebsanleitung für
den Drehstrom-Servomotor 1FK7. (Bestell-/Sachnummer 610.40 700.21) sind zu
beachten!
WARNUNG
Gefährdung bei Hebe- und Transportvorgängen!
Unsachgemäße Ausführung, ungeeignete oder schadhafte Geräte
und Hilfsmittel können Verletzungen und/oder Sachschäden
bewirken.
Hubgeräte, Flurförderzeuge und Lastaufnahmemittel müssen den
Vorschriften entsprechen.
Bei Montagearbeiten an der Haltebremse oder am Bremsmotor sind
unbedingt die einschlägigen Sicherheitsvorschriften (z.B. VBG 8) für
Aufenthalt unter schwebenden Lasten zu beachten!
A
B

Table of Contents

Other manuals for Siemens 1FK7 Series

Related product manuals