EasyManua.ls Logo

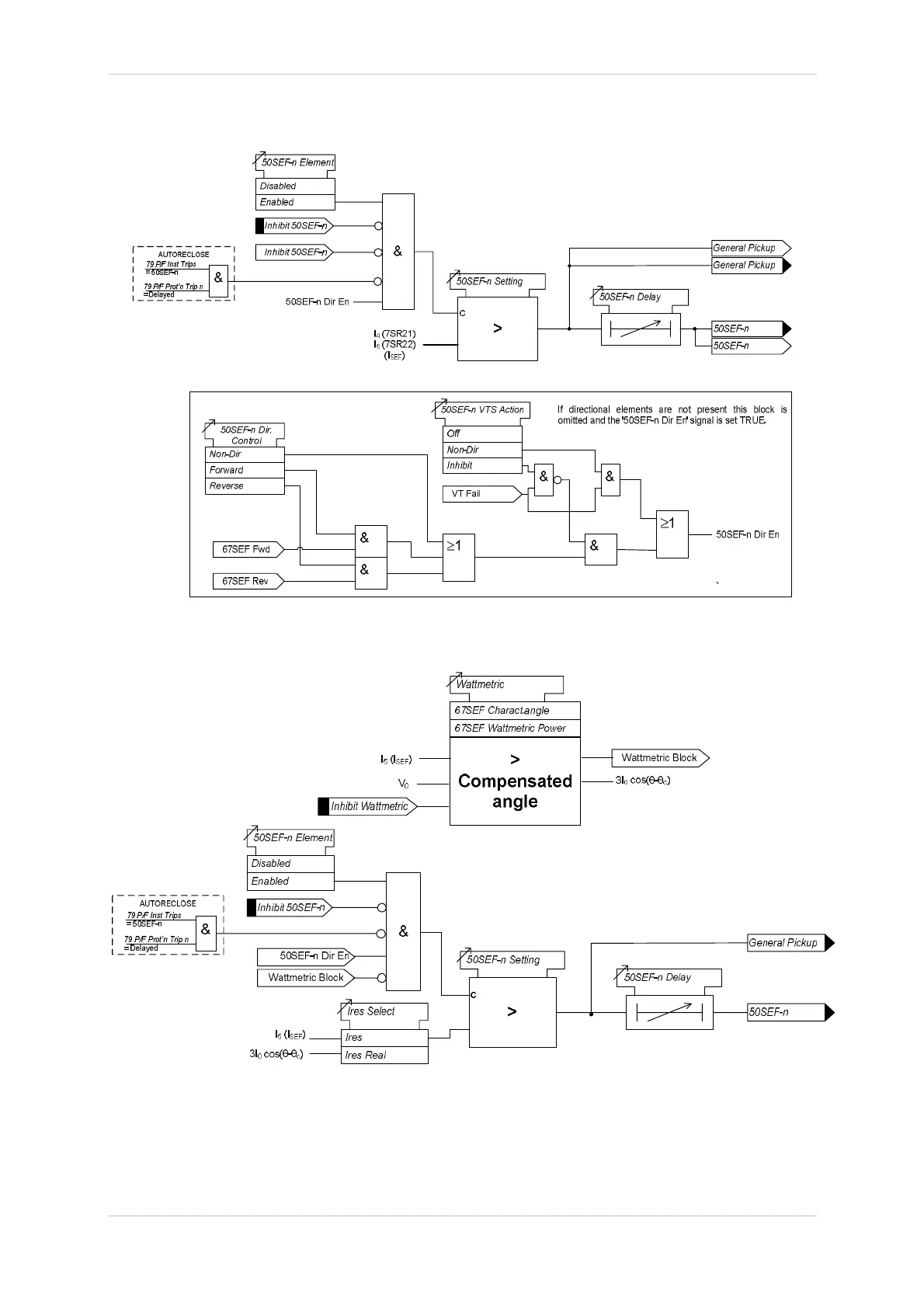
Siemens Argus 7SR22 - Figure 3.5.2-1 Logic Diagram: 50 SEF Instantaneous Element; Figure 3.5.2-2 Logic Diagram: 50 SEF Instantaneous Element Compensated Networks

Siemens Argus 7SR22
644 pages
To Next Page IconTo Next Page
To Next Page IconTo Next Page
To Previous Page IconTo Previous Page
To Previous Page IconTo Previous Page
Loading...
7SR210 & 7SR220 Description of Operation
Unrestricted Page 40 of 94 ©2018 Siemens Protection Devices Limited
Figure 3.5.2-1 Logic Diagram: 50 SEF Instantaneous Element
Figure 3.5.2-2 Logic Diagram: 50 SEF Instantaneous Element Compensated Networks

Table of Contents

Other manuals for Siemens Argus 7SR22

Related product manuals