EasyManua.ls Logo

Simrad ROBERTSON AP45 - Page 23

Simrad ROBERTSON AP45
124 pages
Print Icon
To Next Page IconTo Next Page
To Next Page IconTo Next Page
To Previous Page IconTo Previous Page
To Previous Page IconTo Previous Page
Loading...
Robertson AP45 Autopilot
Operation
Simrad Robertson AS
Egersund - Norway
Page 2-9
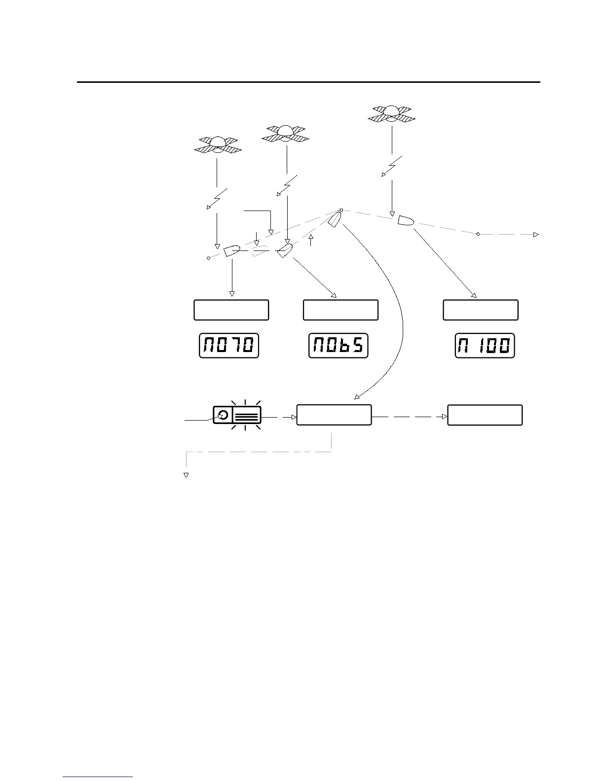
WAYPOINT 1
WAYPOINT 2
WAYPOINT 3
Updat e
Updat e
Updat e
ALARM
ACCEPT CHANGE?
Y: RESET N: AUTO
INFO DISPLAY
RESET
15MIN CHG 00°
NAVIGATION
RESE T
Heading: 100°
Dri ft
NEW HDG 65°
HDG=70°
Transit satellites
08MIN CHG 0
NAVIGATION
00MIN CHG 05°
NAVIGATION
15MIN CHG 00°
NAVIGATION
INFO DISPLAY
COURSE DISPLAY
INFO DISPLAY INFO DISPLAY
COURSE DISPLAY COURSE DISPLAY
Waypoint 2 has been reached. Continue as follows:
If the heading to next waypoint, showed on the heading display, is accepted,
press RESET.
If not, press AUTOPILOT mode and continue without Nav. Steering
By pressing RESET, the new heading is automatically entered and the autopilot
will turn the vessel towards the new heading.
When reaching waypoint 3, repeat the same procedure.

Table of Contents

Related product manuals