EasyManua.ls Logo

SNBC BTP-M300 - Appendix 5 Exploded Drawing of the Printer

SNBC BTP-M300
61 pages
Print Icon
To Next Page IconTo Next Page
To Next Page IconTo Next Page
To Previous Page IconTo Previous Page
To Previous Page IconTo Previous Page
Loading...
BTP-M300 Service Manual
- 47 -
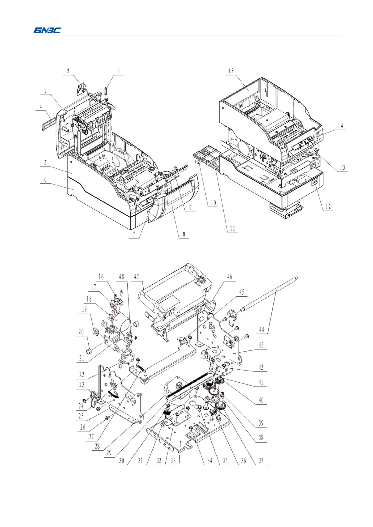
Appendix 5 Exploded drawing of the printer
1) Exploded drawing of cover module
2) Exploded drawing of print module

Table of Contents

Other manuals for SNBC BTP-M300

Related product manuals